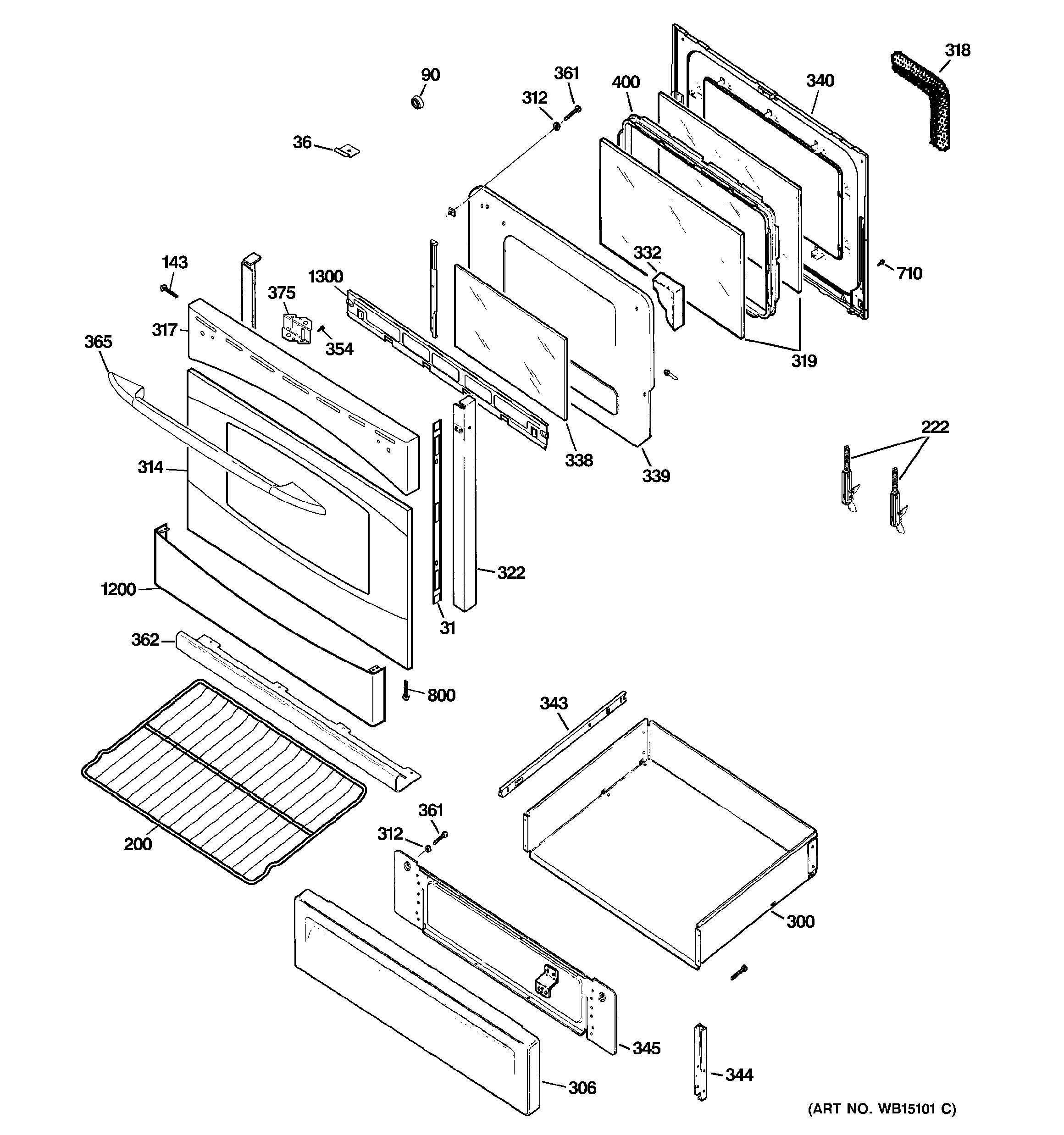
PGB910SET1SS DOOR & DRAWER PARTSadmin2025-04-26T12:51:04+00:00PGB910SET1SS DOOR & DRAWER PARTS ProductsPositionProduct31GEN WB07K1041736BRACKET GLASS90WB02X28737 GE Oven Front Frame Bumper143SCREW MTG END CAP200WB48T10095 GE Oven Rack200OVEN RACK222WB10K10037 GE Oven Door Hinge222HINGE DOOR300GEN WB58K10014306WB63X21517 GE Oven Drawer Panel306GEN WB55K10040312WB1X119D GE Oven Range Washer314GEN WB57K10118317GEN WB07K10345318WB32K10052 GE Oven Gasket318GEN WB32K10050319WB57K10174 GE Range Crystal Window Door322TRIM POST322TRIM POST332WB35K10221 GE Range Insulation332WB35K10222 GE Oven Insulation338GEN WB56K10021338CRYSTAL WINDOW339WB34K10137 GE Door Insulation Guard340WB55K10084 GE Door Liner Weld Assembly343GUIDE- SLIDE DRAWER344WB39K20 GE Oven Mounting Bracket Drawer345WB55K10068 GE Oven Drawer Liner345WB55K10055 GE Drawer Liner354WB01K10009 GE Oven Handle Mounting Screw 10-32361WB01K10047 GE Drawer Screw 10-32 HXW 9/16362GEN WB07K10342365GEN WB15T10189365HANDLE 30 ASM (PRF-SS)375GEN WB02K10341375GEN WB02K10064400WB34K10141 GE Range Oven Glass Metal Frame710WB1X536 GE Oven Screw800WB01K10042 GE Oven Screw 3/8" AB IHW 8-181200GEN WB07K102871300GEN WB55K100771300GEN WB55K10047