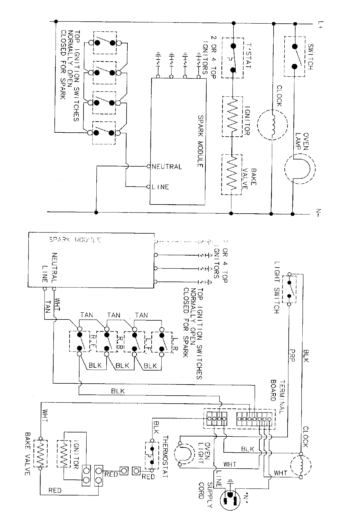
PGR4102CDH 06 – WIRING INFORMATIONadmin2025-04-26T09:42:08+00:00PGR4102CDH 06 – WIRING INFORMATION ProductsPositionProductNIMAY 15001767