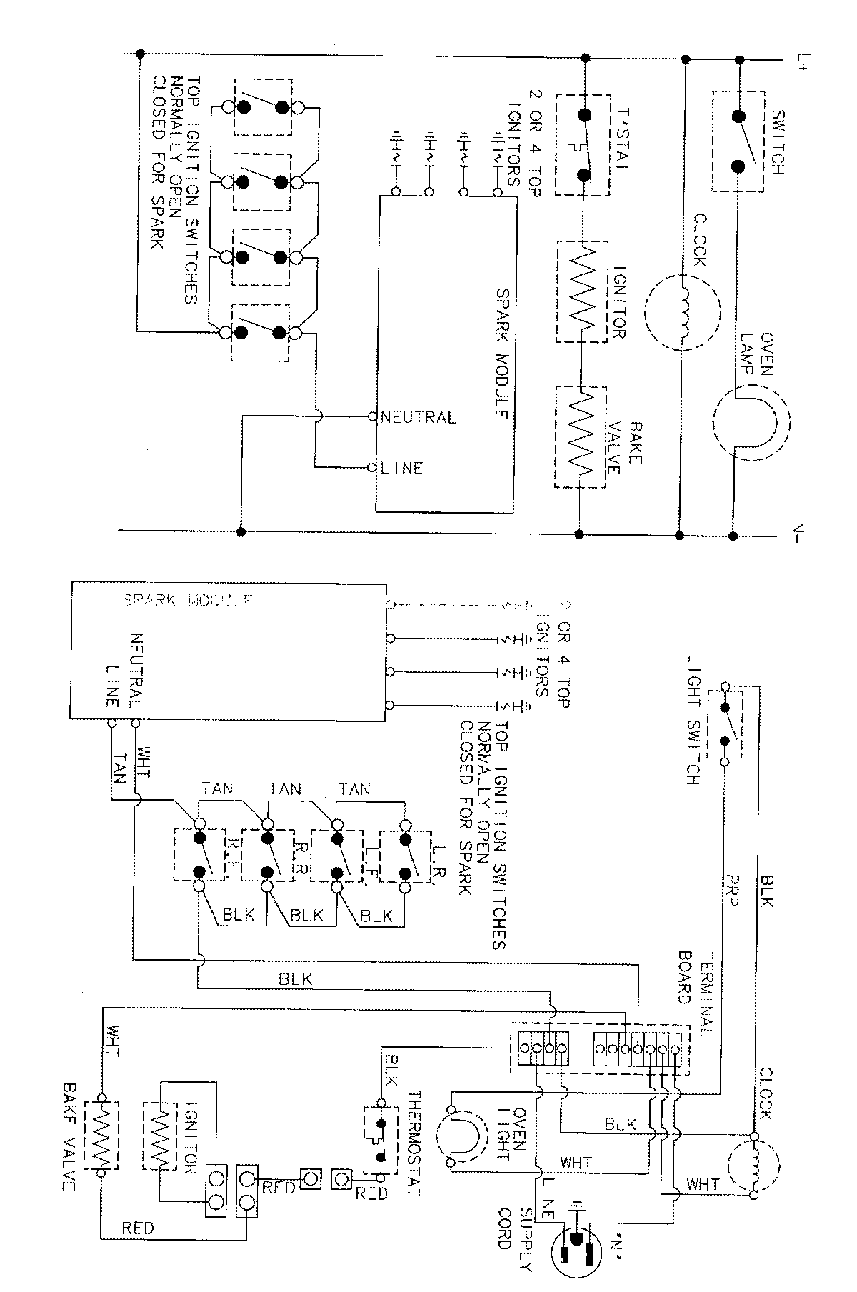
PGR4102CDT 06 – WIRING INFORMATIONadmin2025-04-26T09:42:20+00:00PGR4102CDT 06 – WIRING INFORMATION ProductsPositionProductNIMAY 15001767