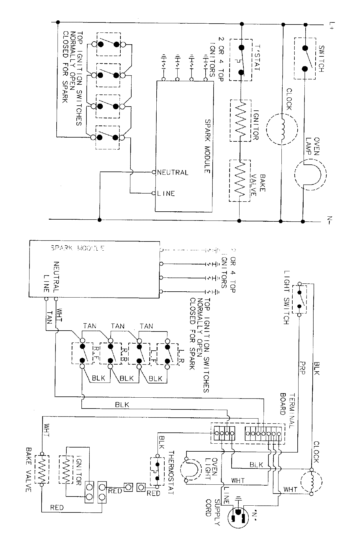
PGR4202BDH 06 – WIRING INFORMATIONadmin2025-04-26T09:43:55+00:00PGR4202BDH 06 – WIRING INFORMATION ProductsPositionProductNIMAY 15001767