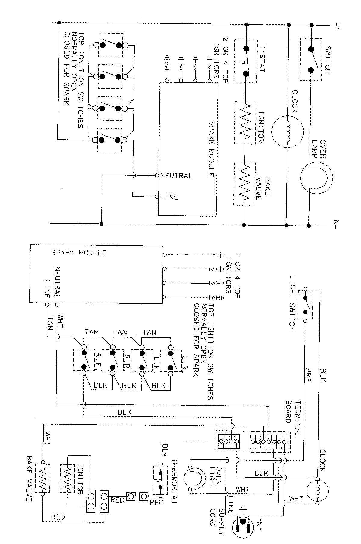
PGR4305CDH 07 – WIRING INFORMATINadmin2025-04-26T09:42:37+00:00PGR4305CDH 07 – WIRING INFORMATIN ProductsPositionProductNIMAY 15001767