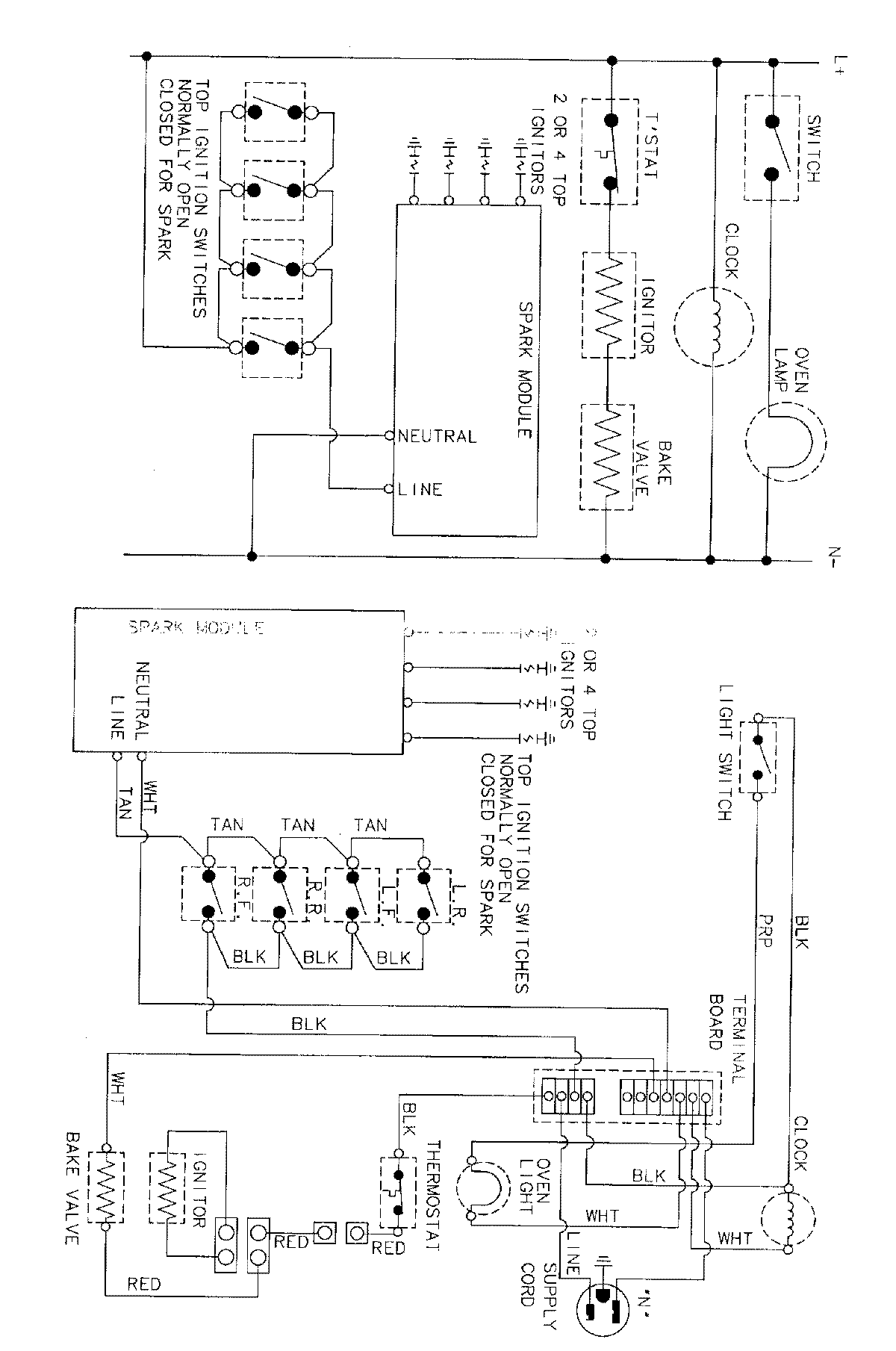
PGR4405CDT 08 – WIRING INFORMATIONadmin2025-04-26T09:43:26+00:00PGR4405CDT 08 – WIRING INFORMATION ProductsPositionProductNIMAY 15001767