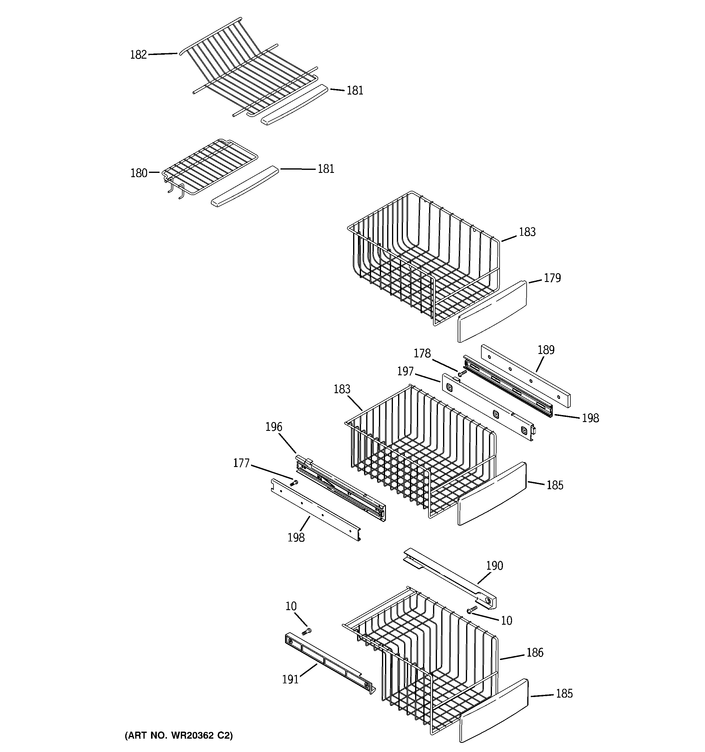
PHE25PGTIFWW FREEZER SHELVES