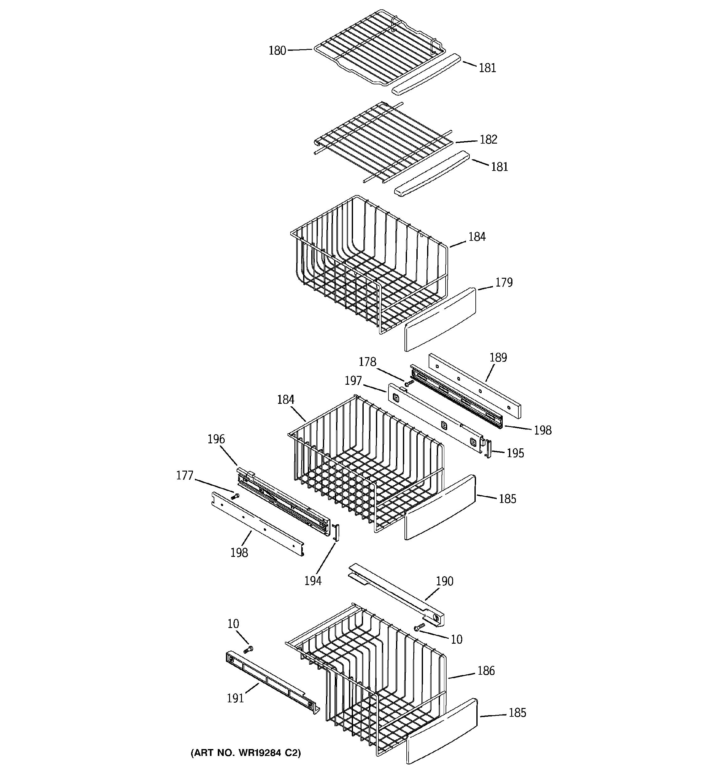
PIT23SGRCSV FREEZER SHELVES