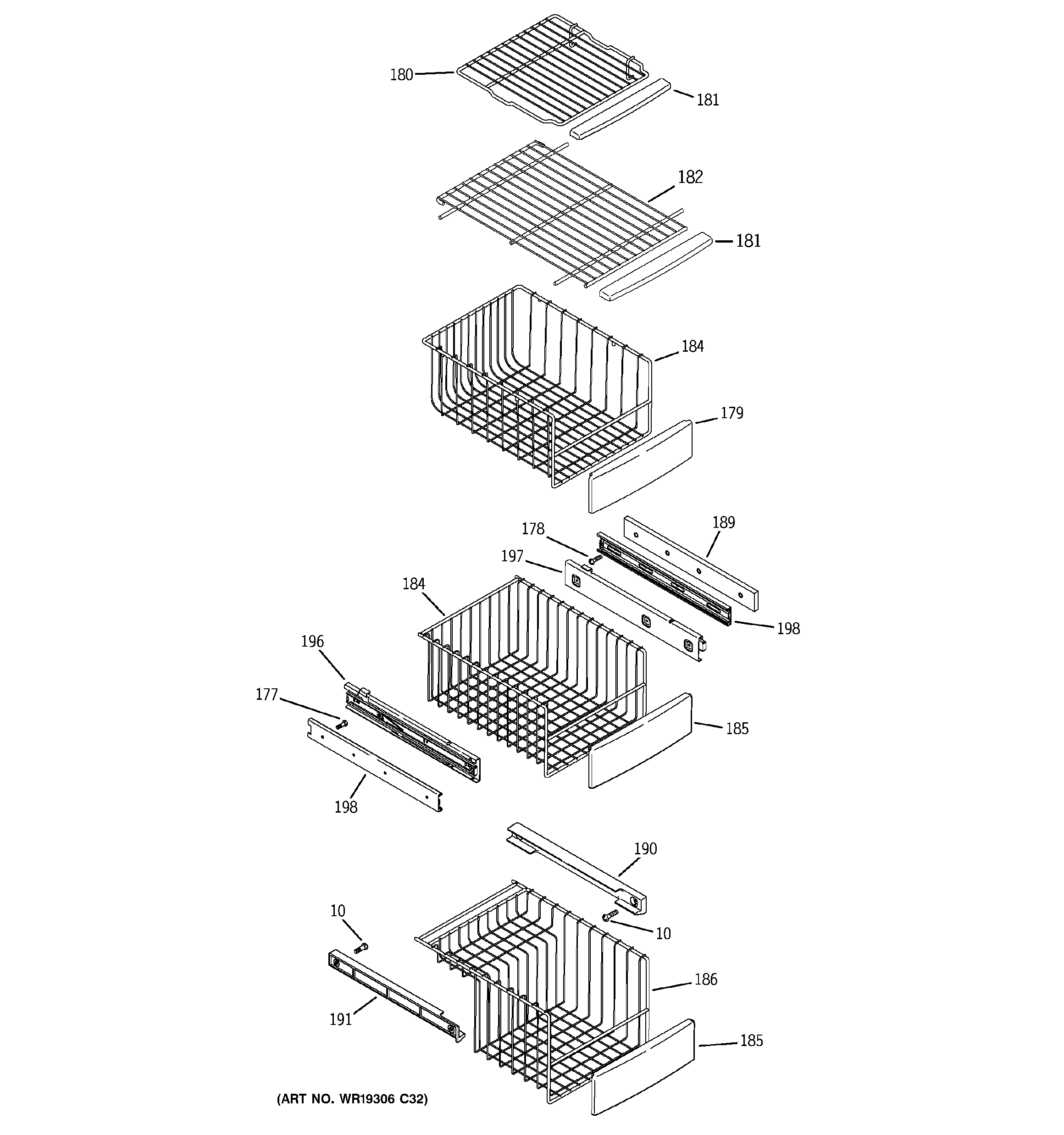
PJE25PGTFFKB FREEZER SHELVES