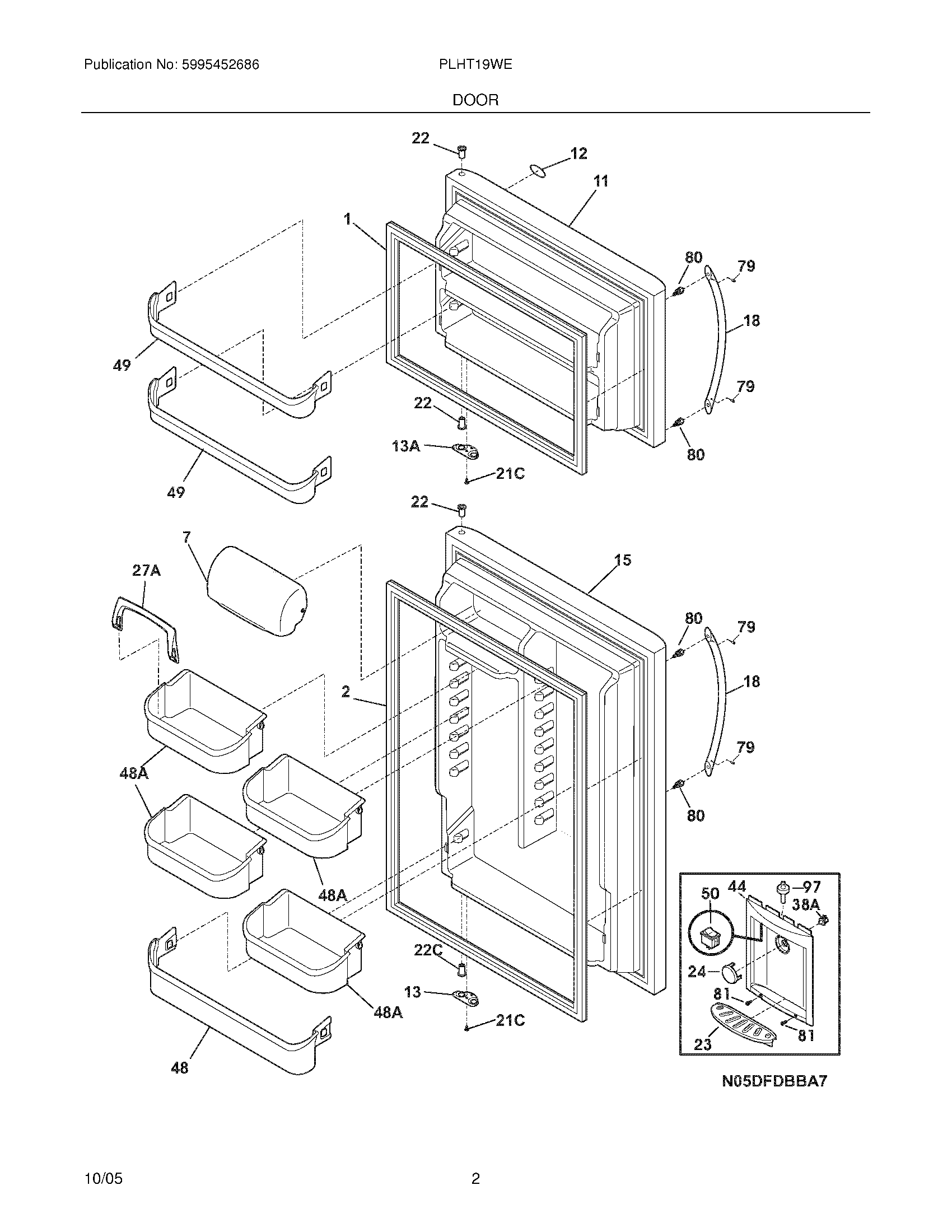
PLHT19WEB9 03 – DOOR