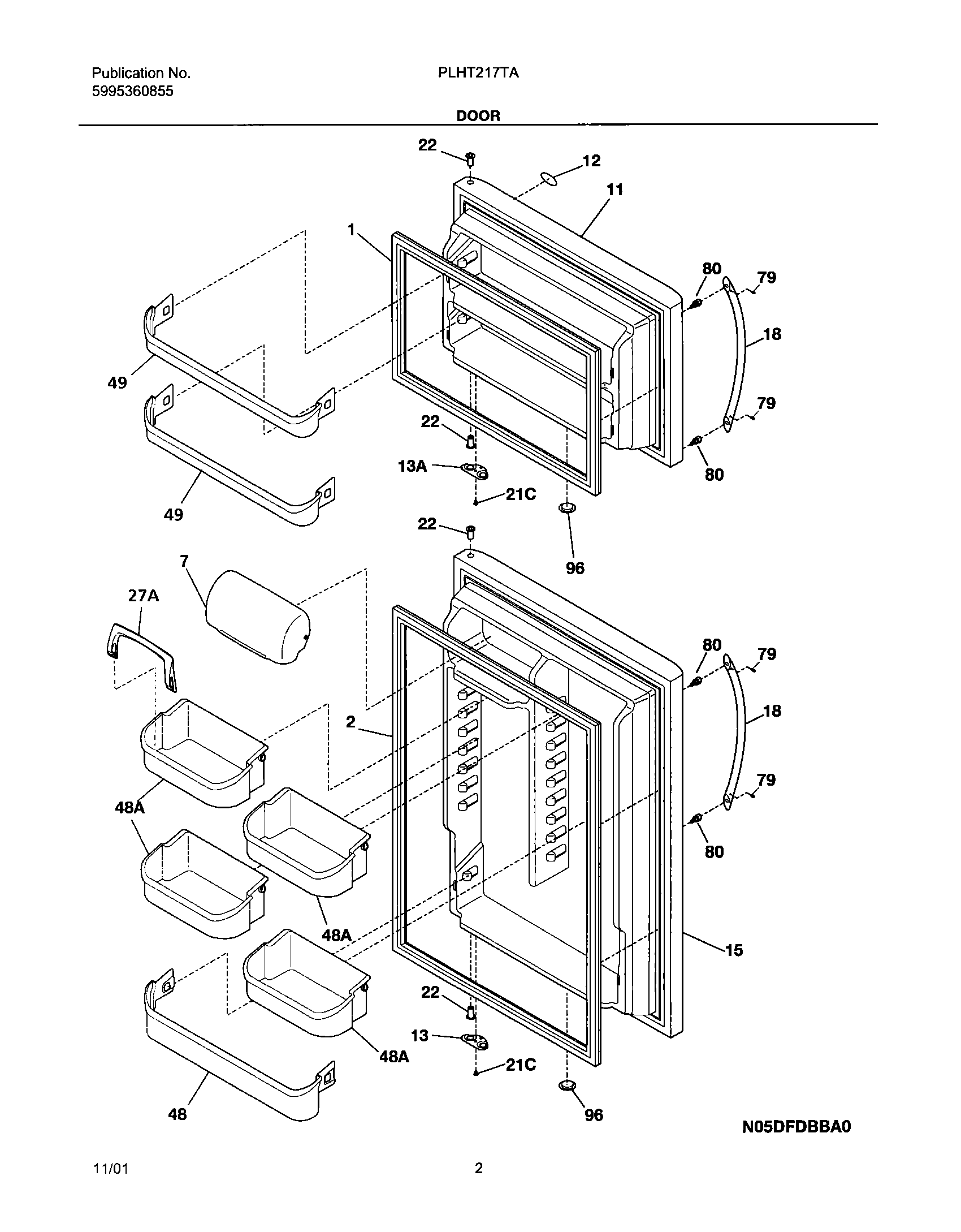
PLHT217TAB0 03 – DOORS