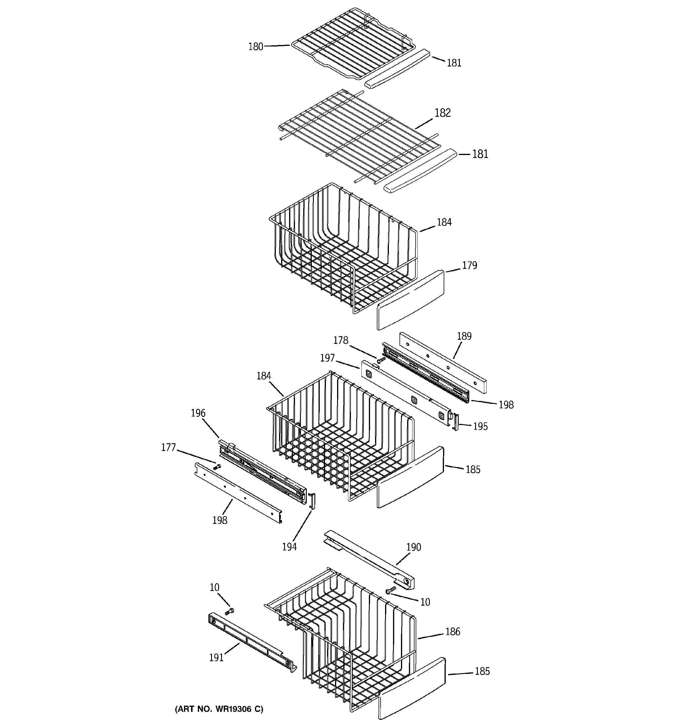
PSC23MGTCWW FREEZER SHELVES