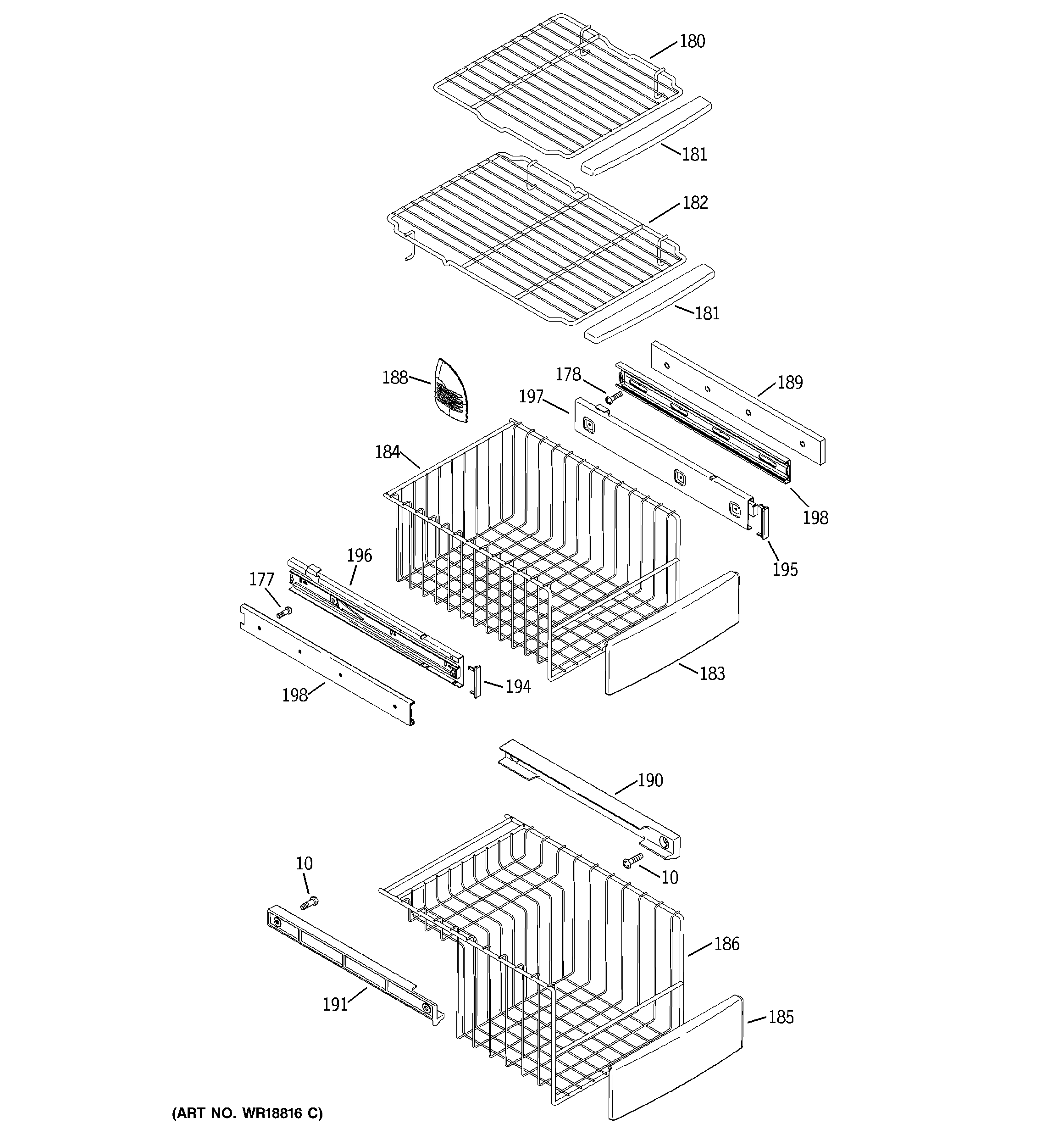
PSC23NGMEWW FREEZER SHELVES