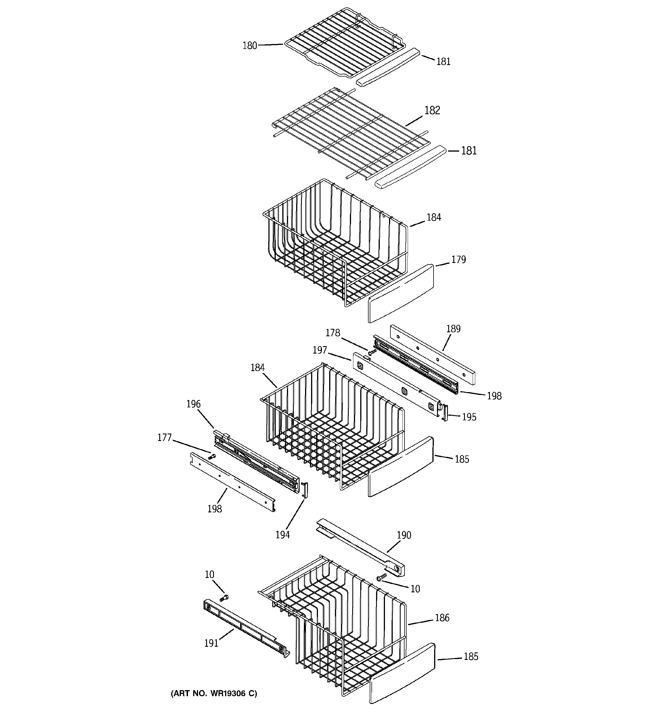
PSC23PSSBSS FREEZER SHELVES