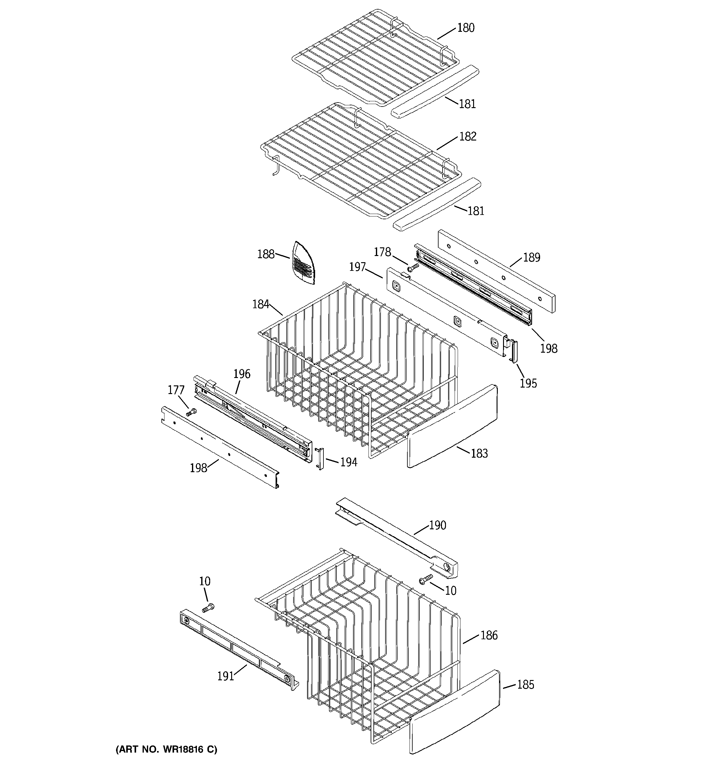
PSC23SGMDBS FREEZER SHELVES