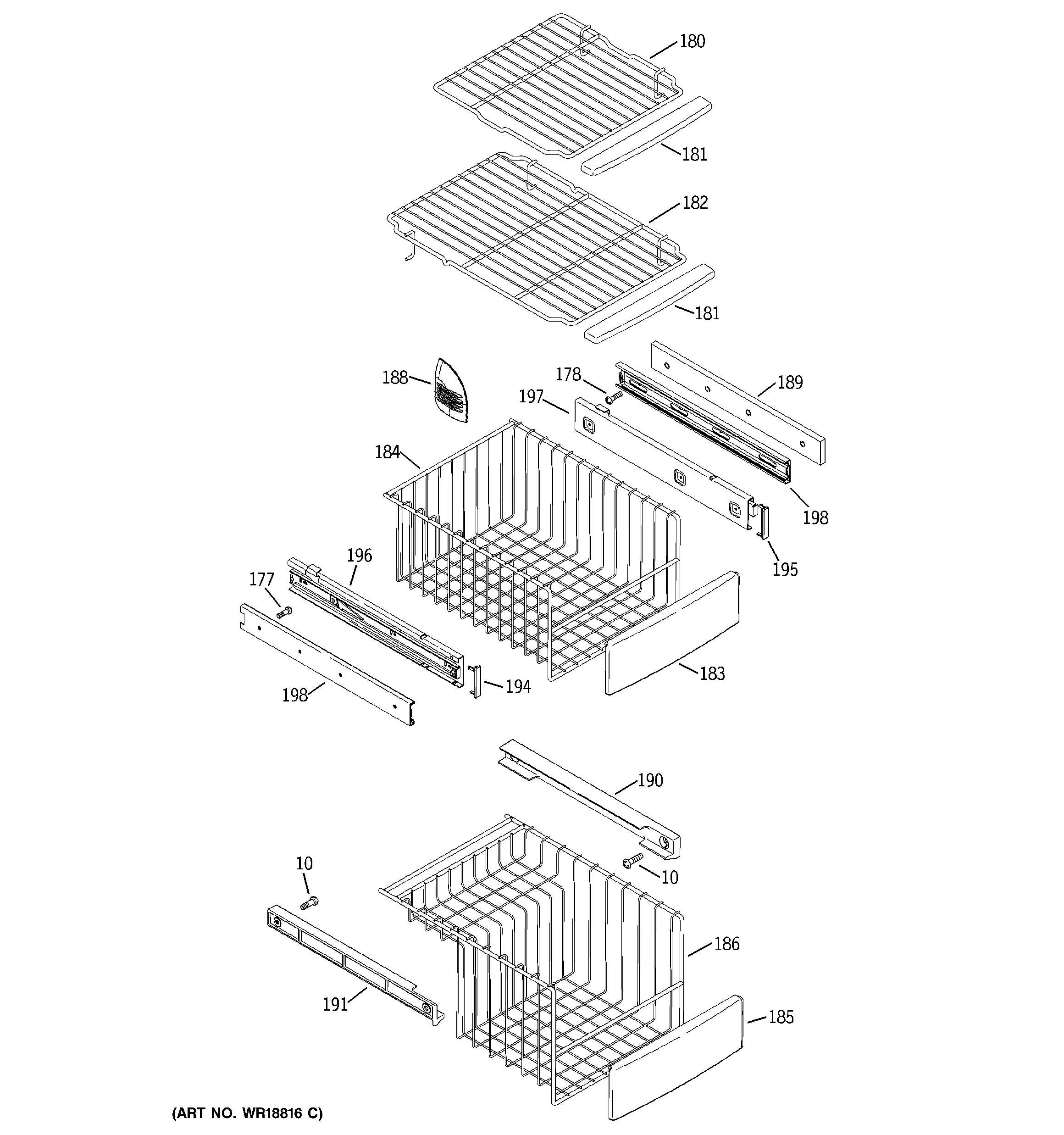
PSC23SHMCBS FREEZER SHELVES