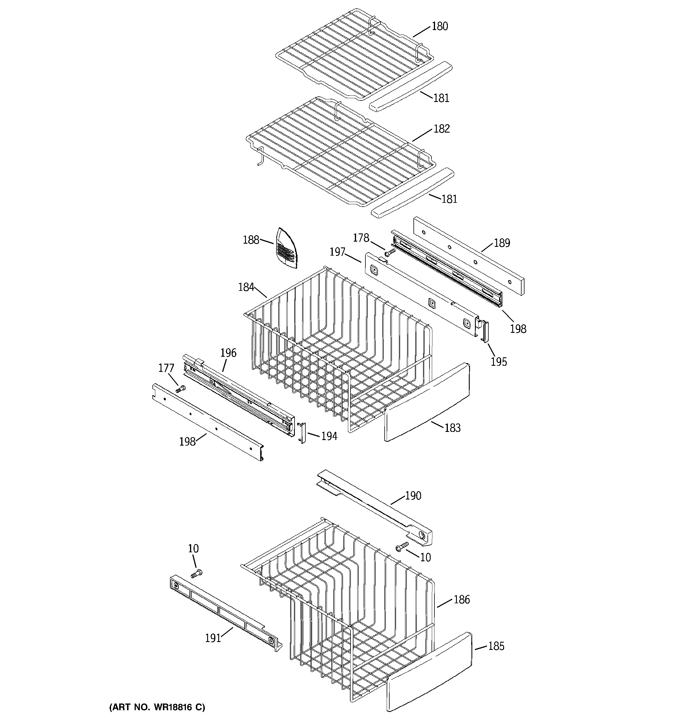
PSC23SHMDBS FREEZER SHELVESadmin2025-04-26T09:54:35+00:00PSC23SHMDBS FREEZER SHELVES ProductsPositionProduct10WR01X10065 GE Screw177WR01X10613 GE Refrigerator Screw 8-18 AB PNT20 7/16 S178WR01X10614 GE Refrigerator Screw 8-18 AB PNT 20 13/16180WR71X10527 GE Wire Shelf181WR38X10456 GE Refrigerator Trim Shelf182WR71X10966 GE Refrigerator Shelf Slide-Out183WR12X10625 GE Refrigerator Door Handle184WR21X10156 GE Refrigerator Basket186WR21X10041 GE Refrigerator Wire Basket188WR02X10837 GE Grill Basket189WR17X10945 GE Refrigerator Spacer190WR72X10066 GE Refrigerator Support Slide Basket191WR72X10067 GE Refrigerator Support Slide Basket194GEN WR02X10810195WR02X10811 GE Refrigerator Right Inside Cover196WR72X10068 GE Refrigerator Left Hand Slide & Bracket Assembly197WR72X10069 GE Refrigerator Slide and Bracket Assembly198WR72X10070 GE Refrigerator Slide Liner