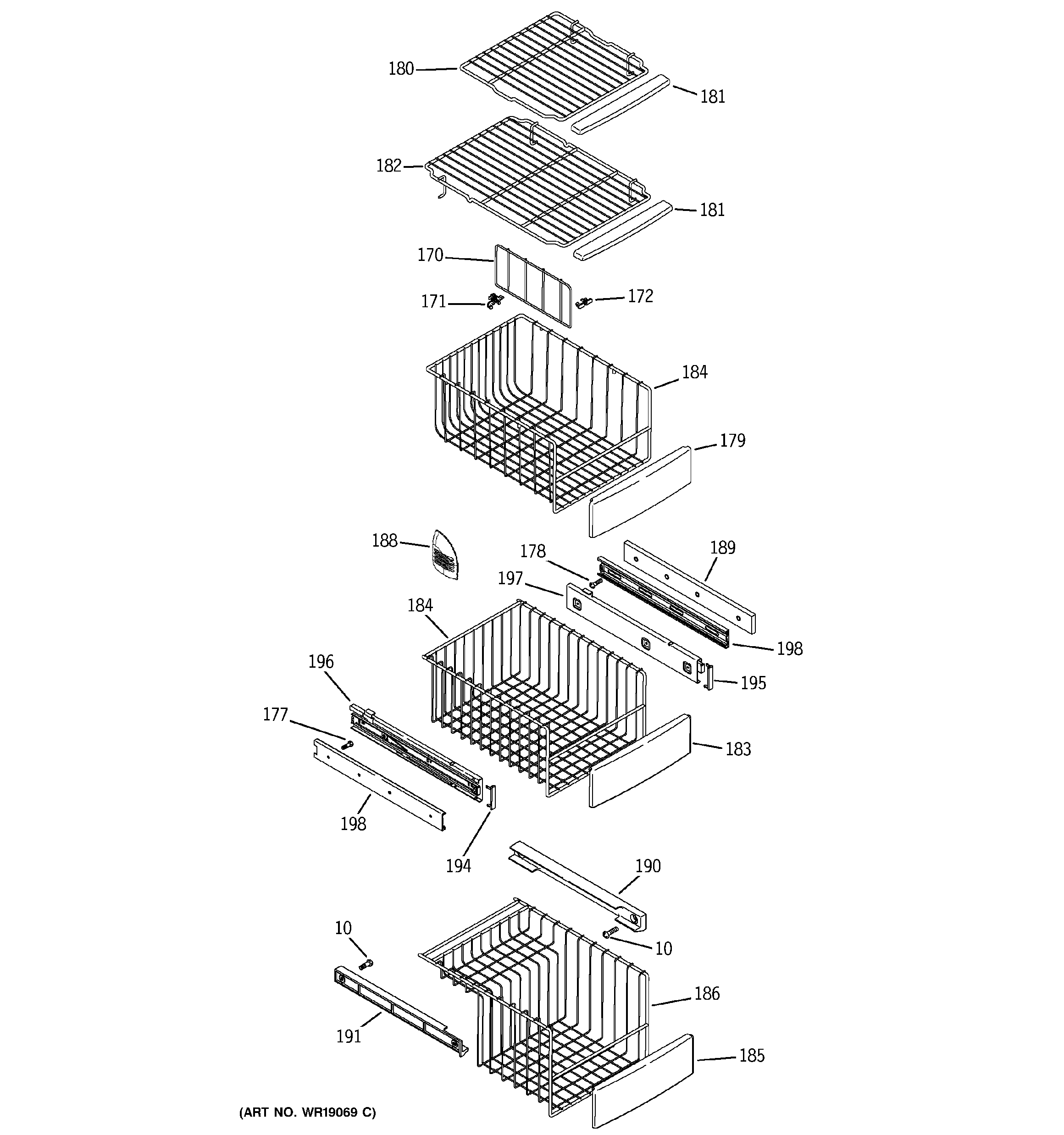
PSC23SHNABS FREEZER SHELVES