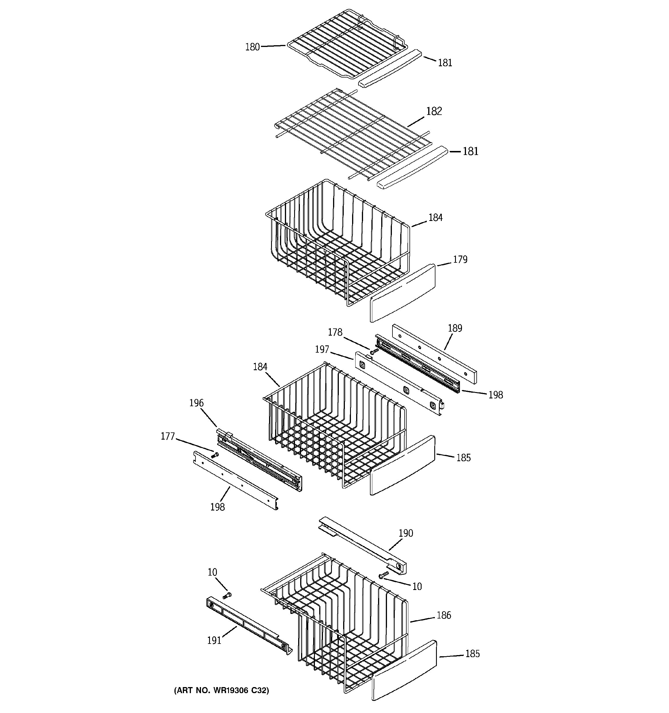
PSC23SHTHSS FREEZER SHELVES