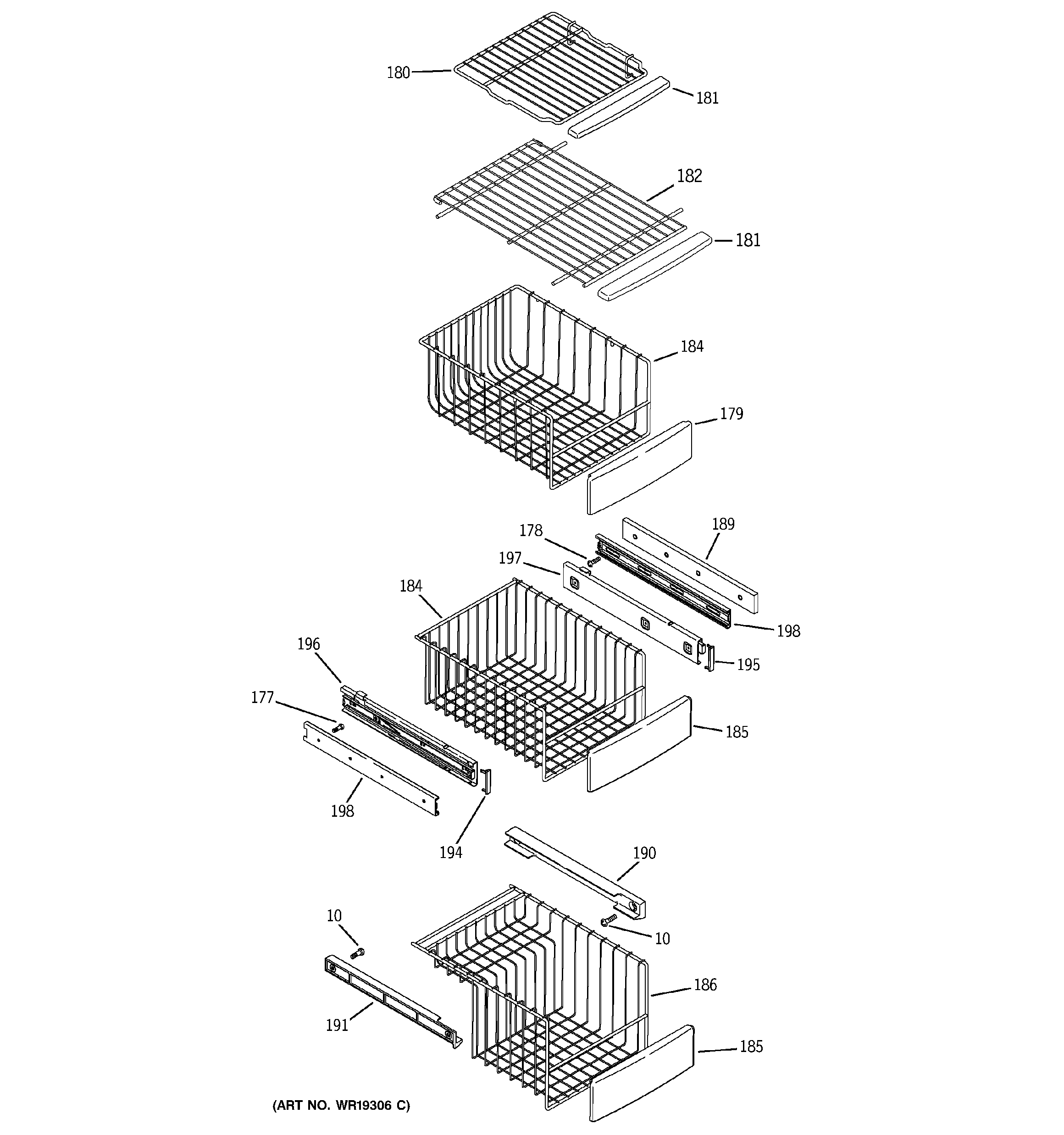
PSC25PSSASS FREEZER SHELVES