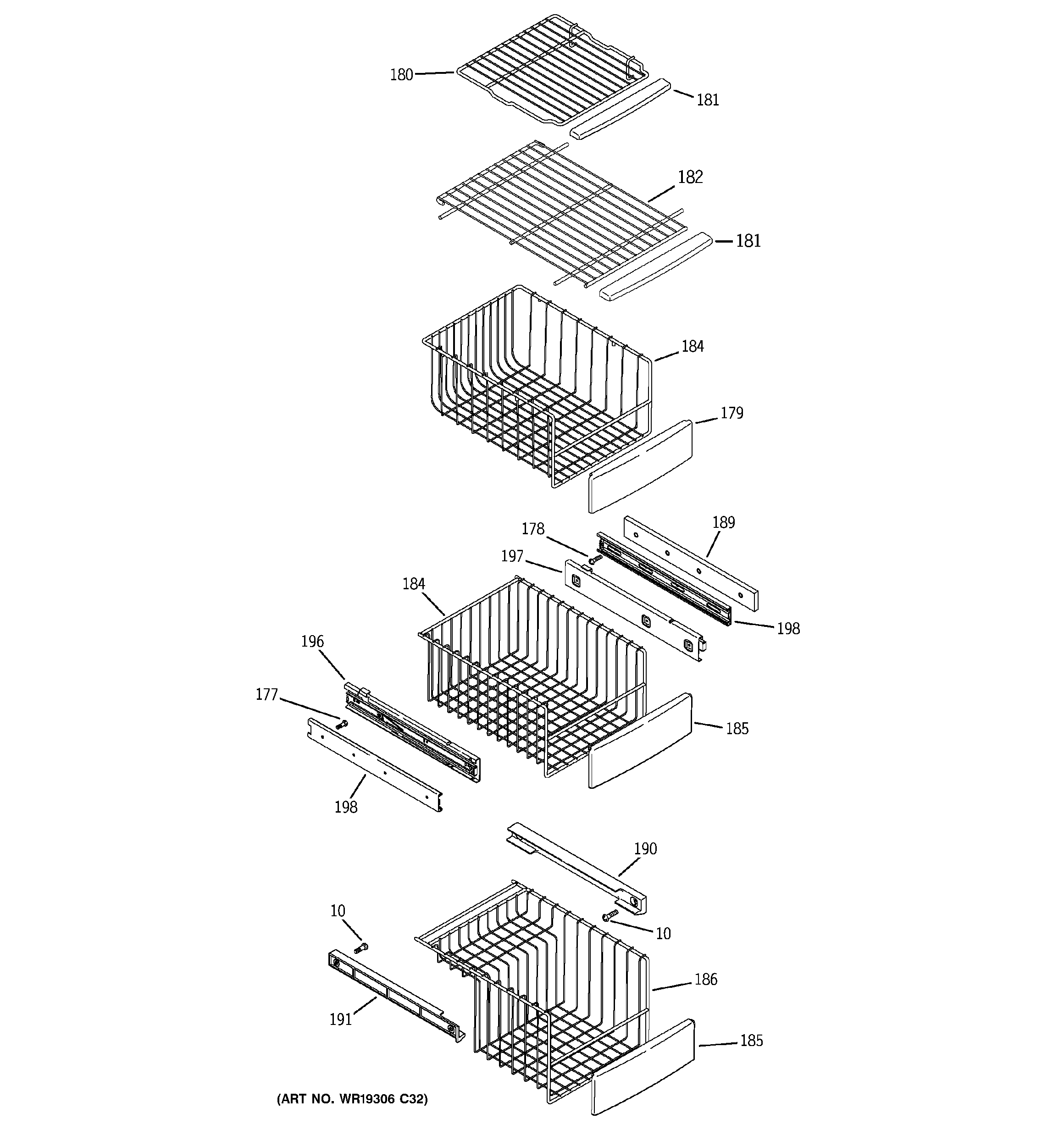
PSE25SGTECSS FREEZER SHELVES