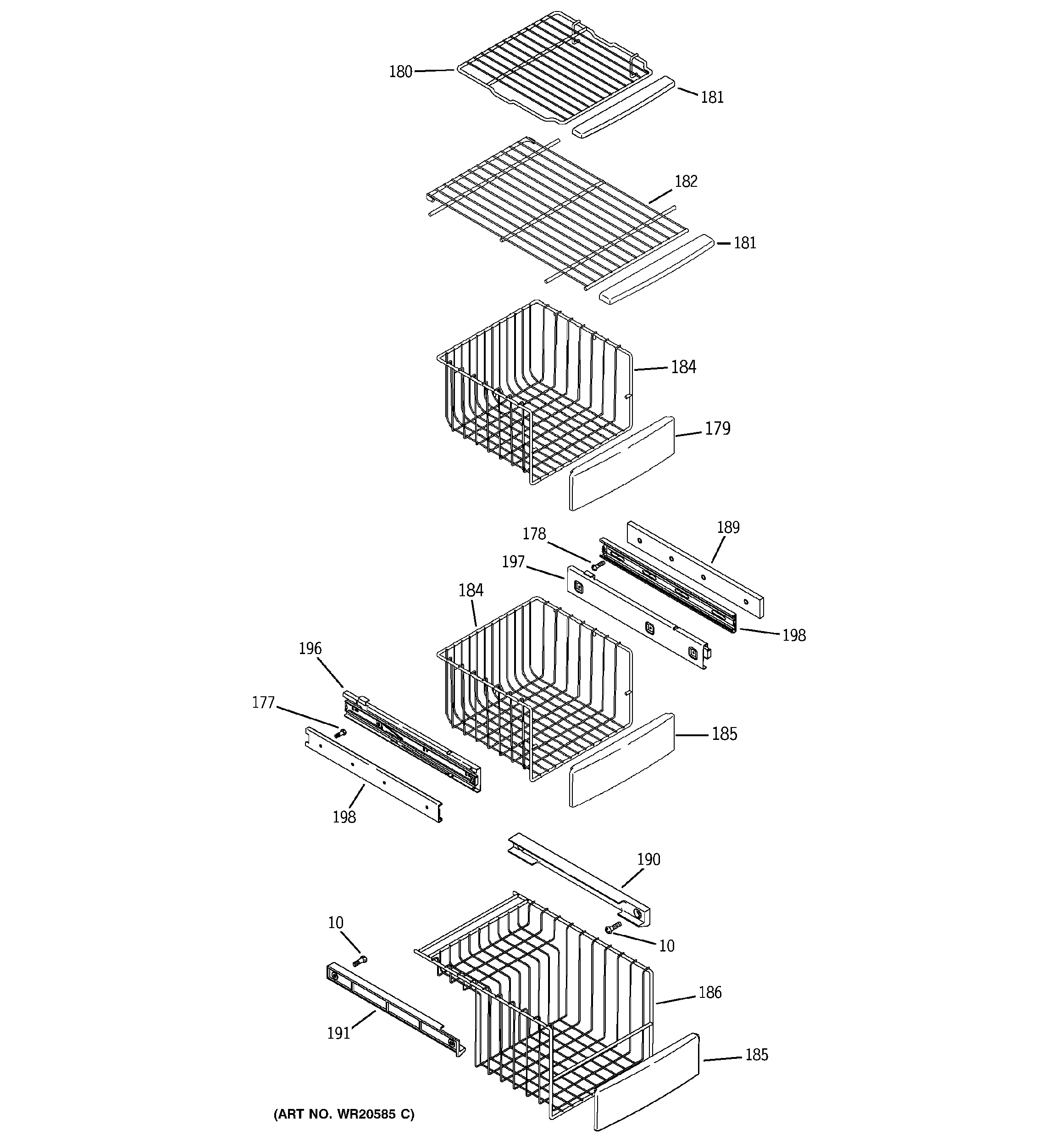
PSE25VGXACWW FREEZER SHELVES