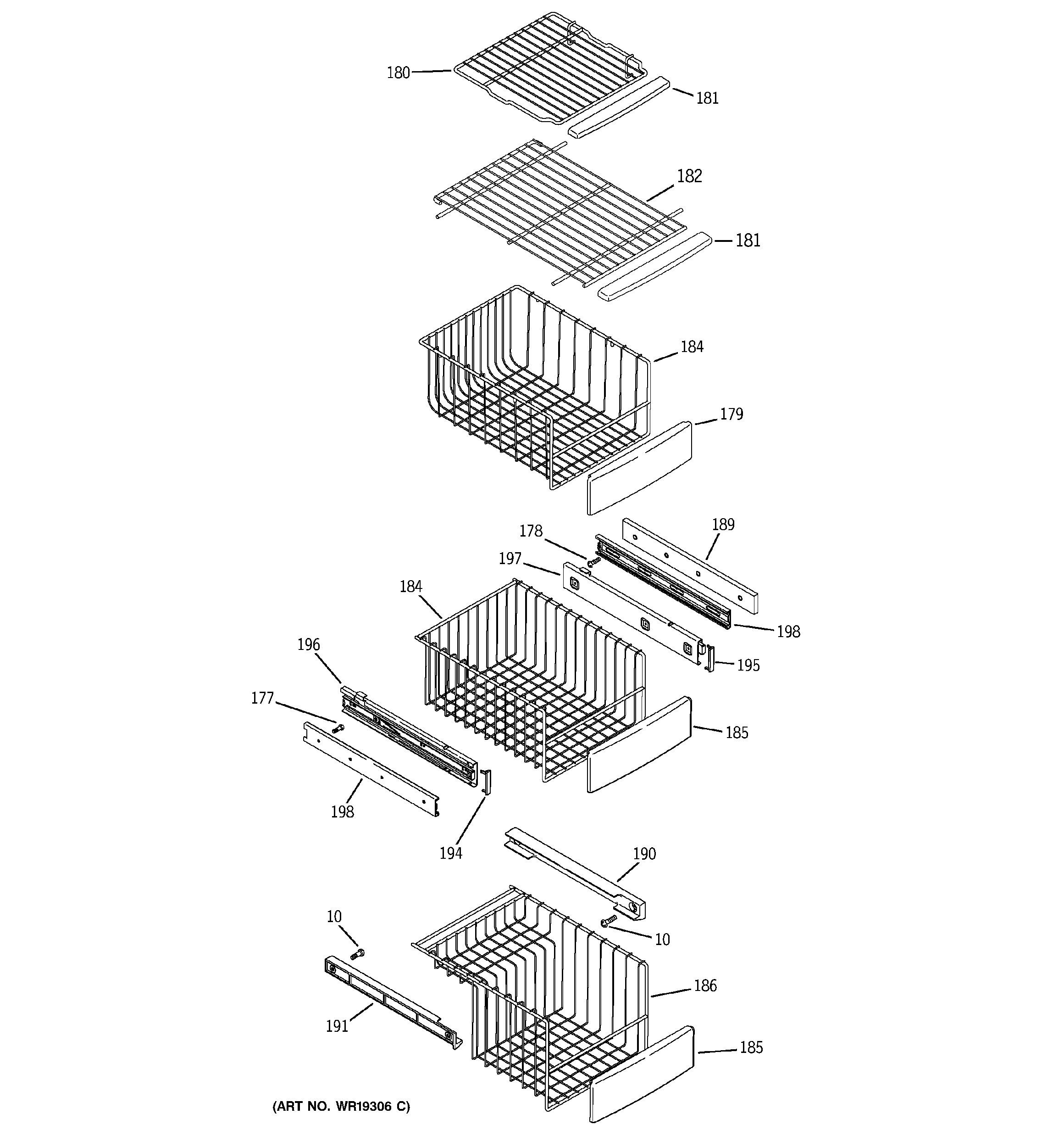
PSF26PGTBWW FREEZER SHELVES