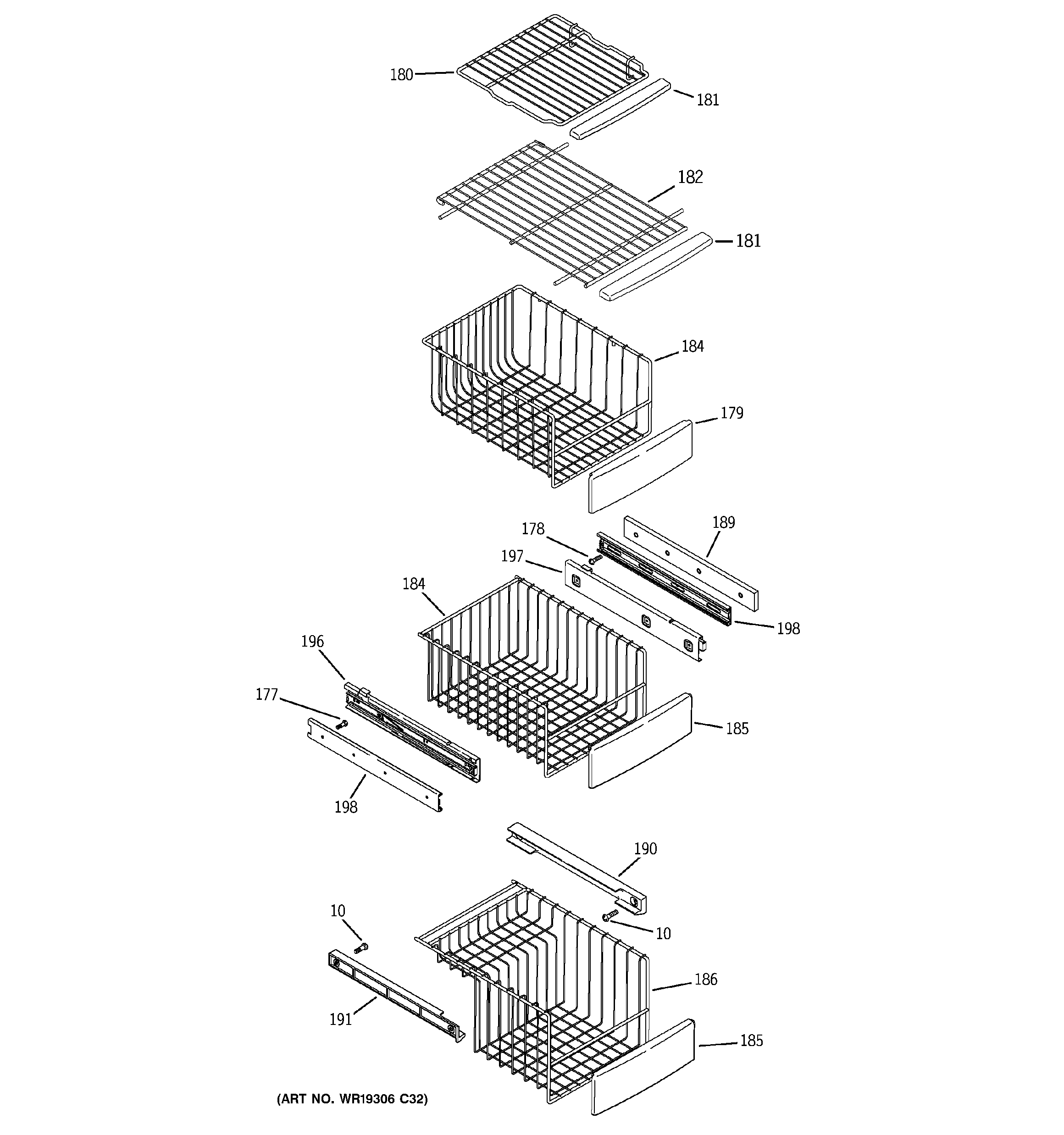
PSI23NGWDBV FREEZER SHELVESadmin2025-04-26T09:53:28+00:00PSI23NGWDBV FREEZER SHELVES ProductsPositionProduct10WR01X10065 GE Screw177WR01X10613 GE Refrigerator Screw 8-18 AB PNT20 7/16 S178WR01X10614 GE Refrigerator Screw 8-18 AB PNT 20 13/16179WR12X10625 GE Refrigerator Door Handle180WR71X10527 GE Wire Shelf181WR38X10456 GE Refrigerator Trim Shelf182WR71X10498 GE Refrigerator Adjustable Shelf184WR21X10156 GE Refrigerator Basket186WR21X10041 GE Refrigerator Wire Basket189WR17X10945 GE Refrigerator Spacer190WR72X10066 GE Refrigerator Support Slide Basket191WR72X10067 GE Refrigerator Support Slide Basket196WR72X10068 GE Refrigerator Left Hand Slide & Bracket Assembly197WR72X10069 GE Refrigerator Slide and Bracket Assembly198WR72X10070 GE Refrigerator Slide Liner