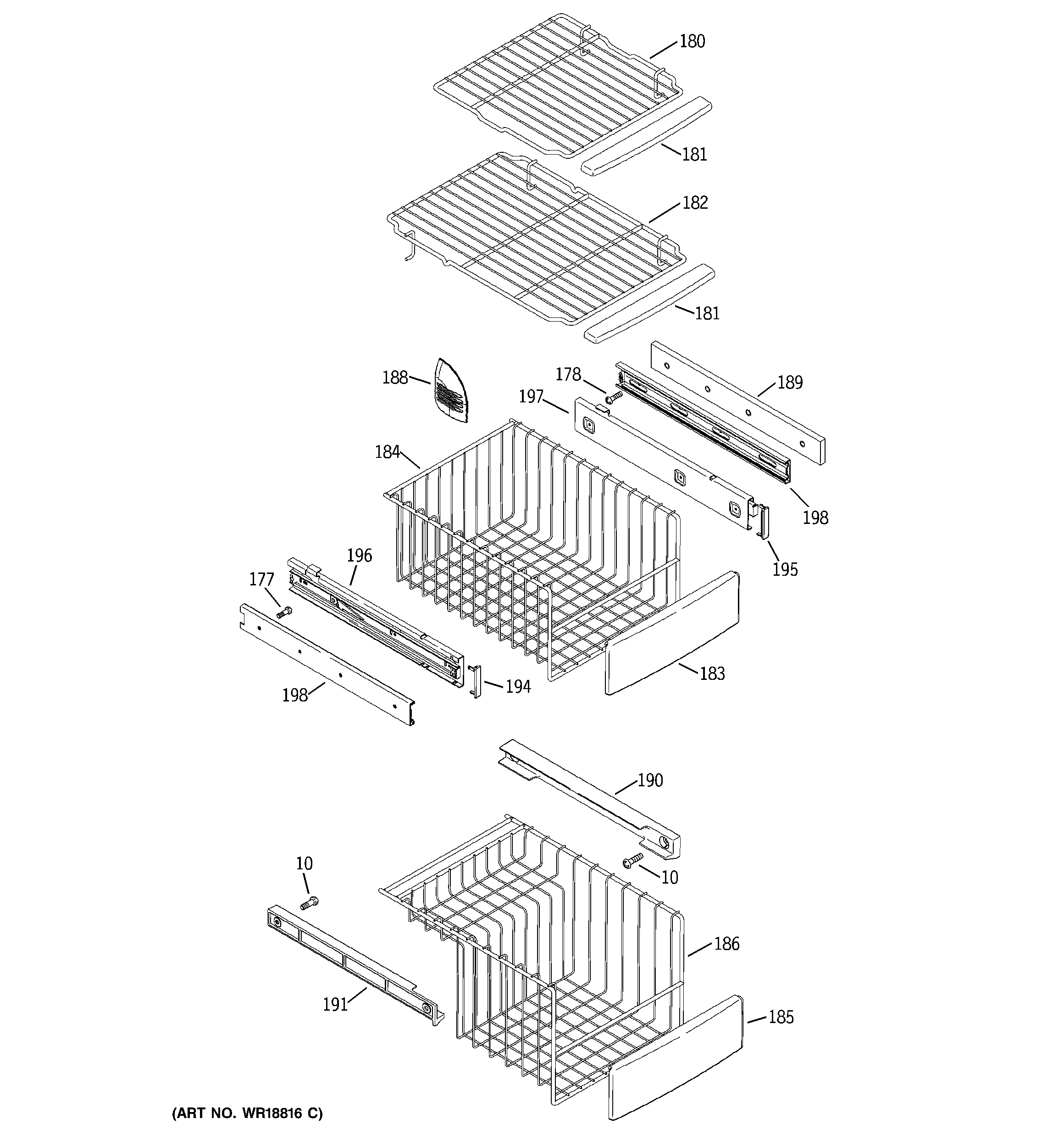
PSK25NGMACCC FREEZER SHELVESadmin2025-04-26T09:55:25+00:00PSK25NGMACCC FREEZER SHELVES ProductsPositionProduct10WR01X10065 GE Screw177WR01X10613 GE Refrigerator Screw 8-18 AB PNT20 7/16 S178WR01X10614 GE Refrigerator Screw 8-18 AB PNT 20 13/16180GEN WR71X10259181WR38X10456 GE Refrigerator Trim Shelf182WR71X10703 GE Refrigerator Wire Shelf183GEN WR12X10510184GEN WR21X10032185WR12X10625 GE Refrigerator Door Handle186WR21X10035 GE Refrigerator Wire Basket Short188WR02X10837 GE Grill Basket189WR17X10913 GE Spacer190WR17X10916 GE Refrigerator Slide Basket Right Hand191WR17X10917 GE Refrigerator Slide Basket Left Hand194GEN WR02X10810195WR02X10811 GE Refrigerator Right Inside Cover196GEN WR72X10063197GEN WR72X10064198GEN WR72X10065