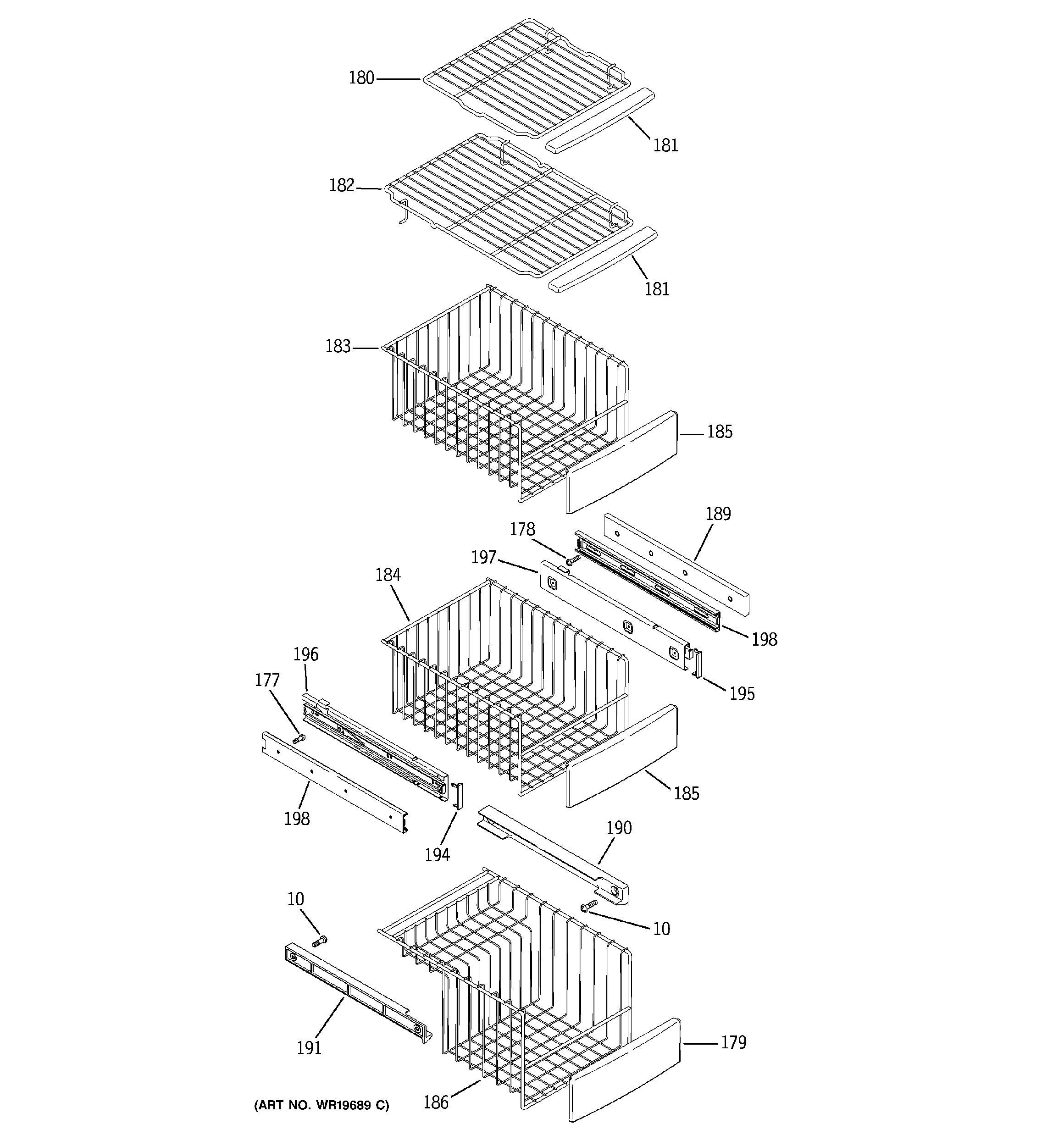
PSK27NGSCCWW FREEZER SHELVESadmin2025-04-26T09:54:06+00:00PSK27NGSCCWW FREEZER SHELVES ProductsPositionProduct10WR01X10065 GE Screw177WR01X10613 GE Refrigerator Screw 8-18 AB PNT20 7/16 S178WR01X10614 GE Refrigerator Screw 8-18 AB PNT 20 13/16179WR12X10625 GE Refrigerator Door Handle180WR71X10965 GE Fixed Refrigerator Shelf181WR38X10456 GE Refrigerator Trim Shelf182WR71X10502 GE Refrigerator Adjustable Shelf183GEN WR21X10032184WR21X10154 GE Refrigerator Basket186WR21X10035 GE Refrigerator Wire Basket Short189WR17X10913 GE Spacer190WR17X10916 GE Refrigerator Slide Basket Right Hand191WR17X10917 GE Refrigerator Slide Basket Left Hand194GEN WR02X10810195WR02X10811 GE Refrigerator Right Inside Cover196WR72X10197 GE Refrigerator Slide & Bracket Assembly L197WR72X10198 GE Refrigerator Slide Bracket Assembly R198WR72X10199 GE Refrigerator Slide Liner