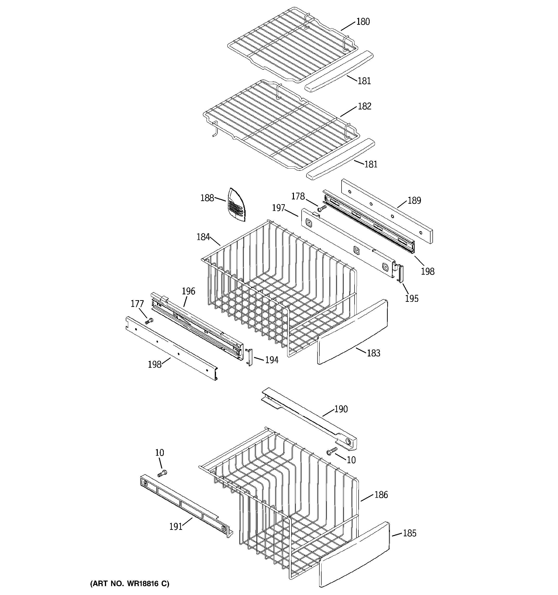
PSK27NHMACWW FREEZER SHELVES