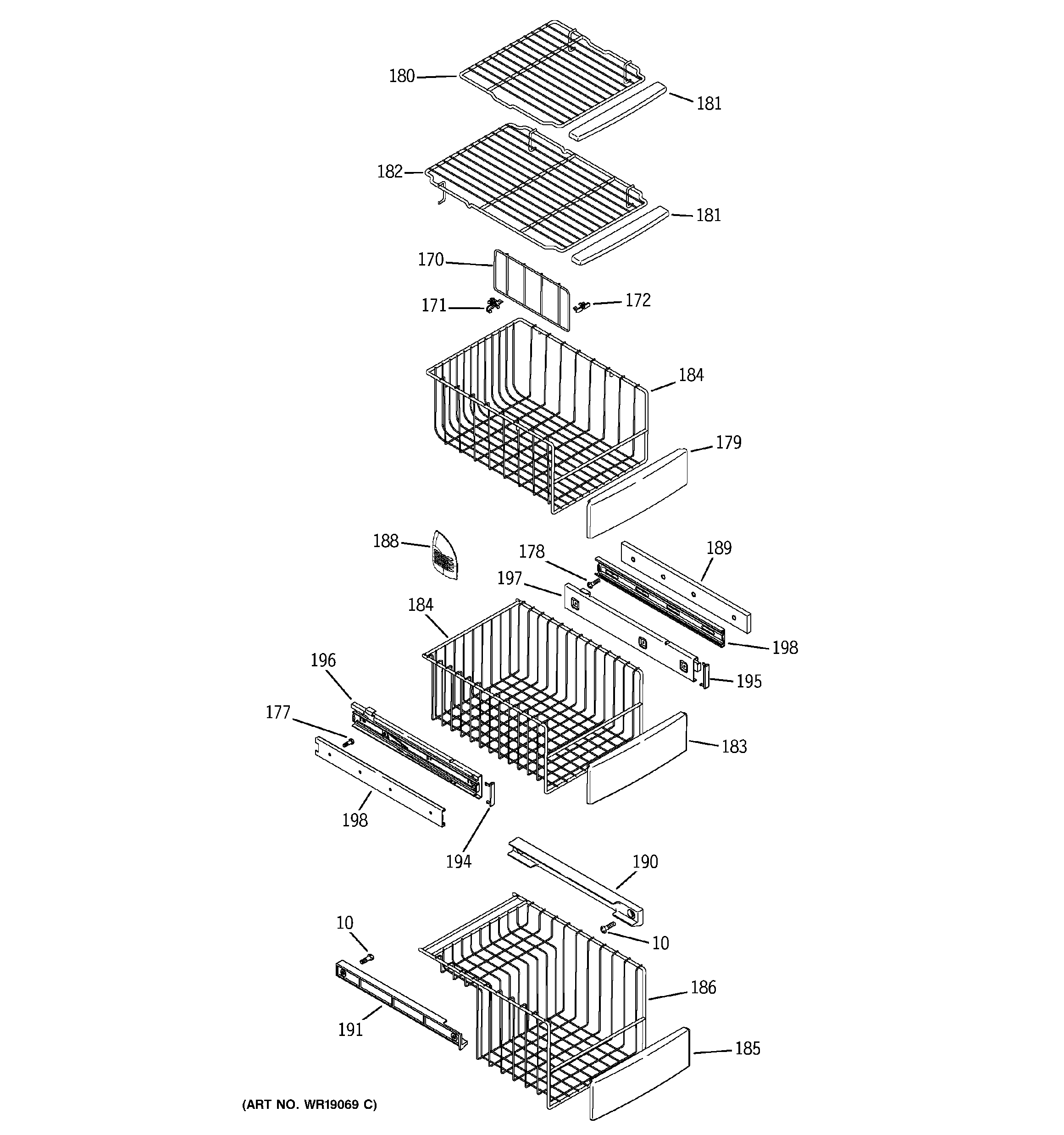
PSS25SGNABS FREEZER SHELVESadmin2025-04-26T09:59:16+00:00PSS25SGNABS FREEZER SHELVES ProductsPositionProduct10WR01X10065 GE Screw170GEN WR21X10058171GEN WR02X11252172GEN WR02X11253177WR01X10613 GE Refrigerator Screw 8-18 AB PNT20 7/16 S178WR01X10614 GE Refrigerator Screw 8-18 AB PNT 20 13/16180GEN WR71X10259181WR38X10456 GE Refrigerator Trim Shelf182WR71X10703 GE Refrigerator Wire Shelf184GEN WR21X10032185WR12X10626 GE Refrigerator Handle186WR21X10035 GE Refrigerator Wire Basket Short188WR02X10837 GE Grill Basket189WR17X10913 GE Spacer190WR17X10916 GE Refrigerator Slide Basket Right Hand191WR17X10917 GE Refrigerator Slide Basket Left Hand194GEN WR02X10810195WR02X10811 GE Refrigerator Right Inside Cover196GEN WR72X10063197GEN WR72X10064198GEN WR72X10065