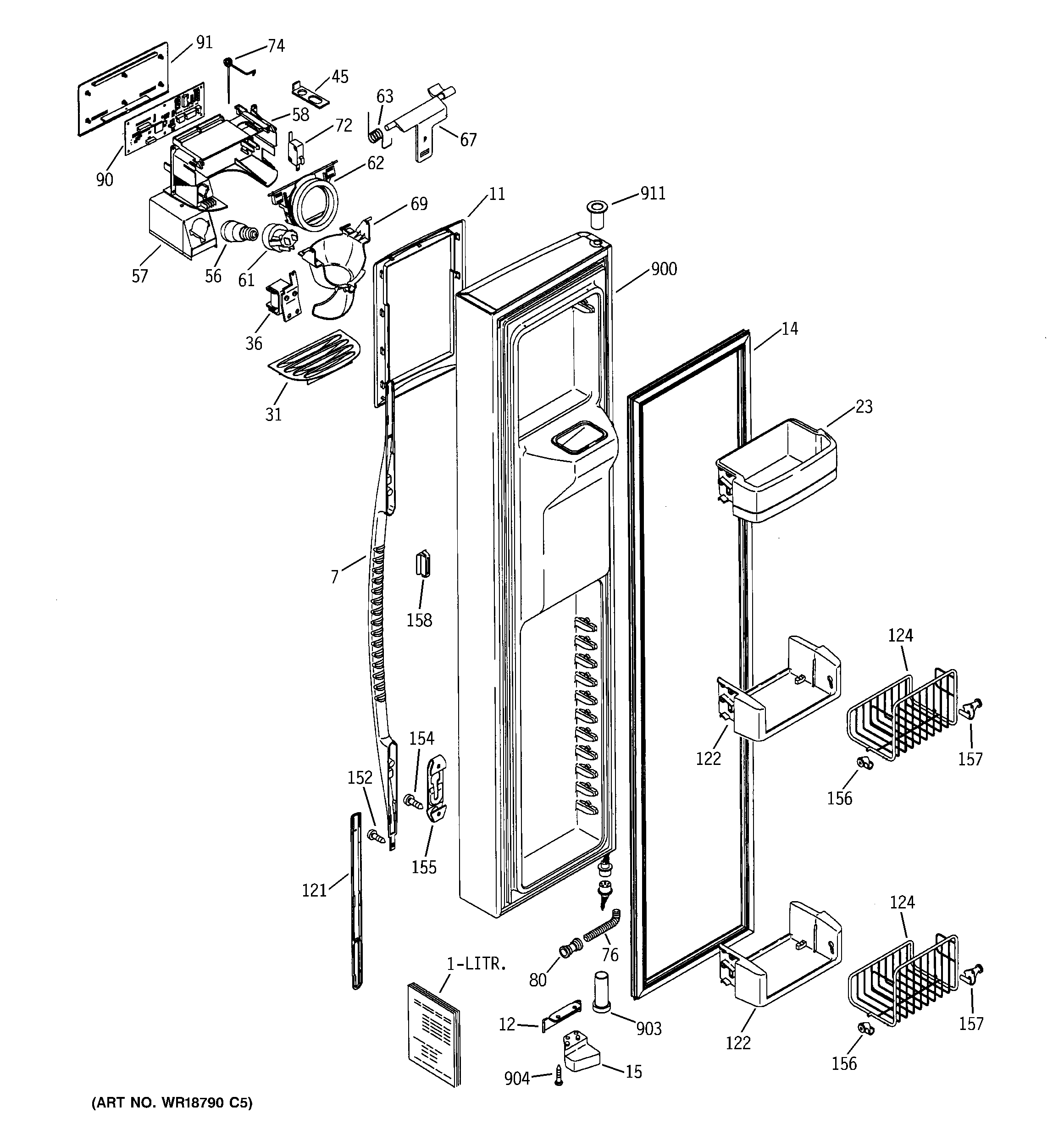
PSS29MGMBCC FREEZER DOOR