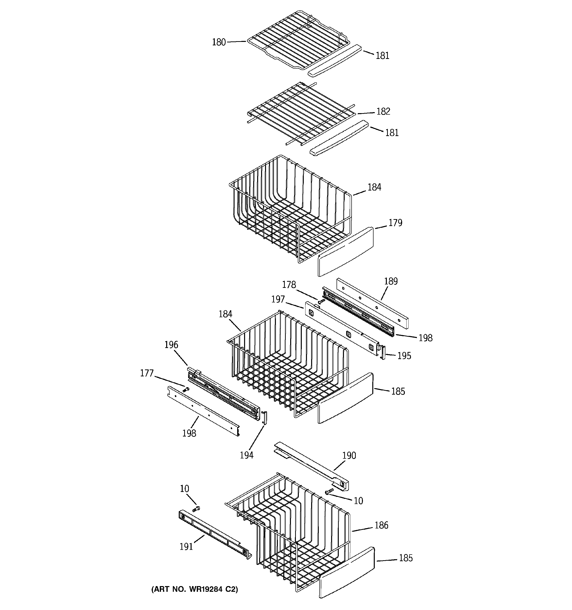
PSW26PSTASS FREEZER SHELVES