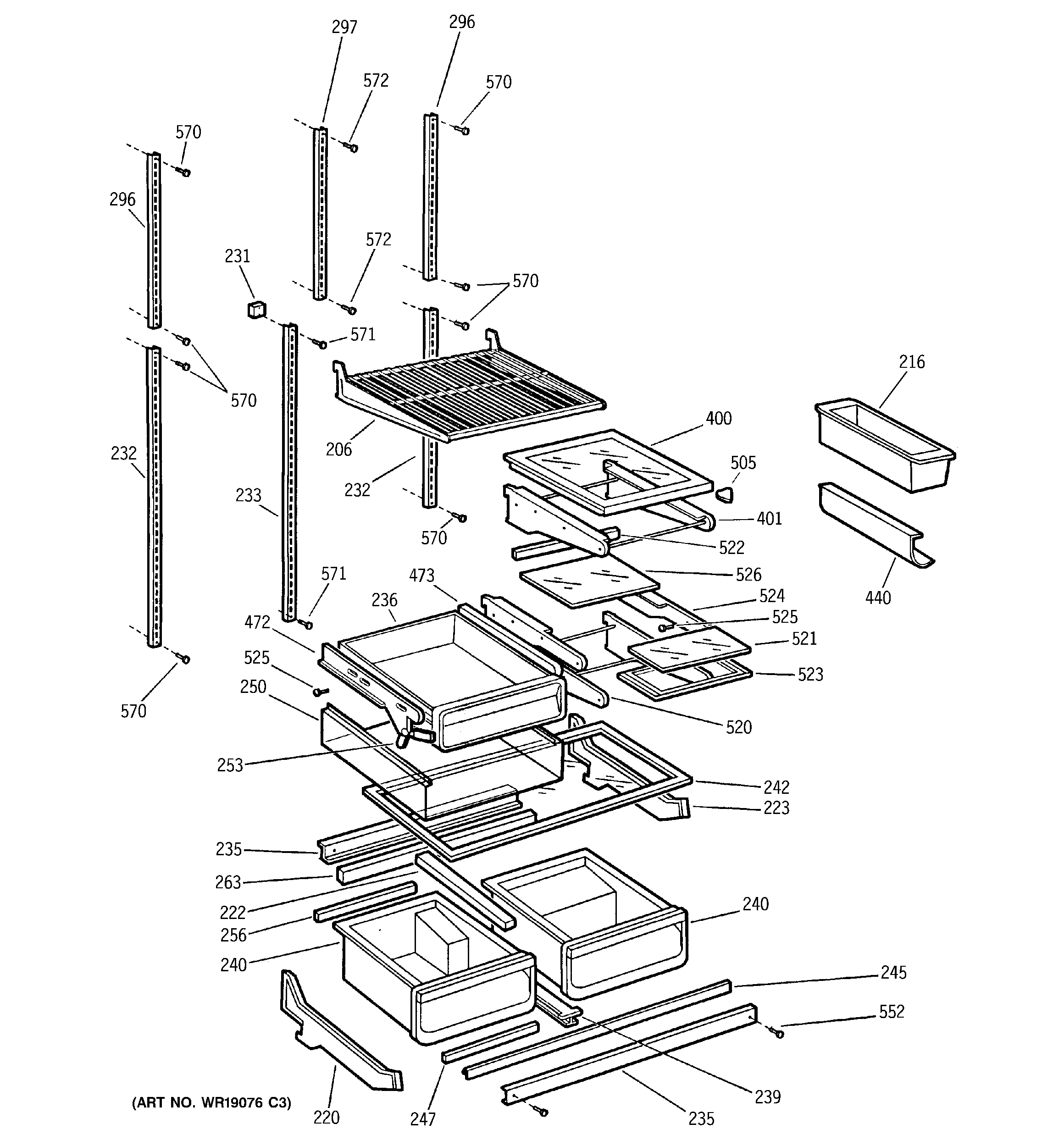
PTC22MFMALCC SHELVES