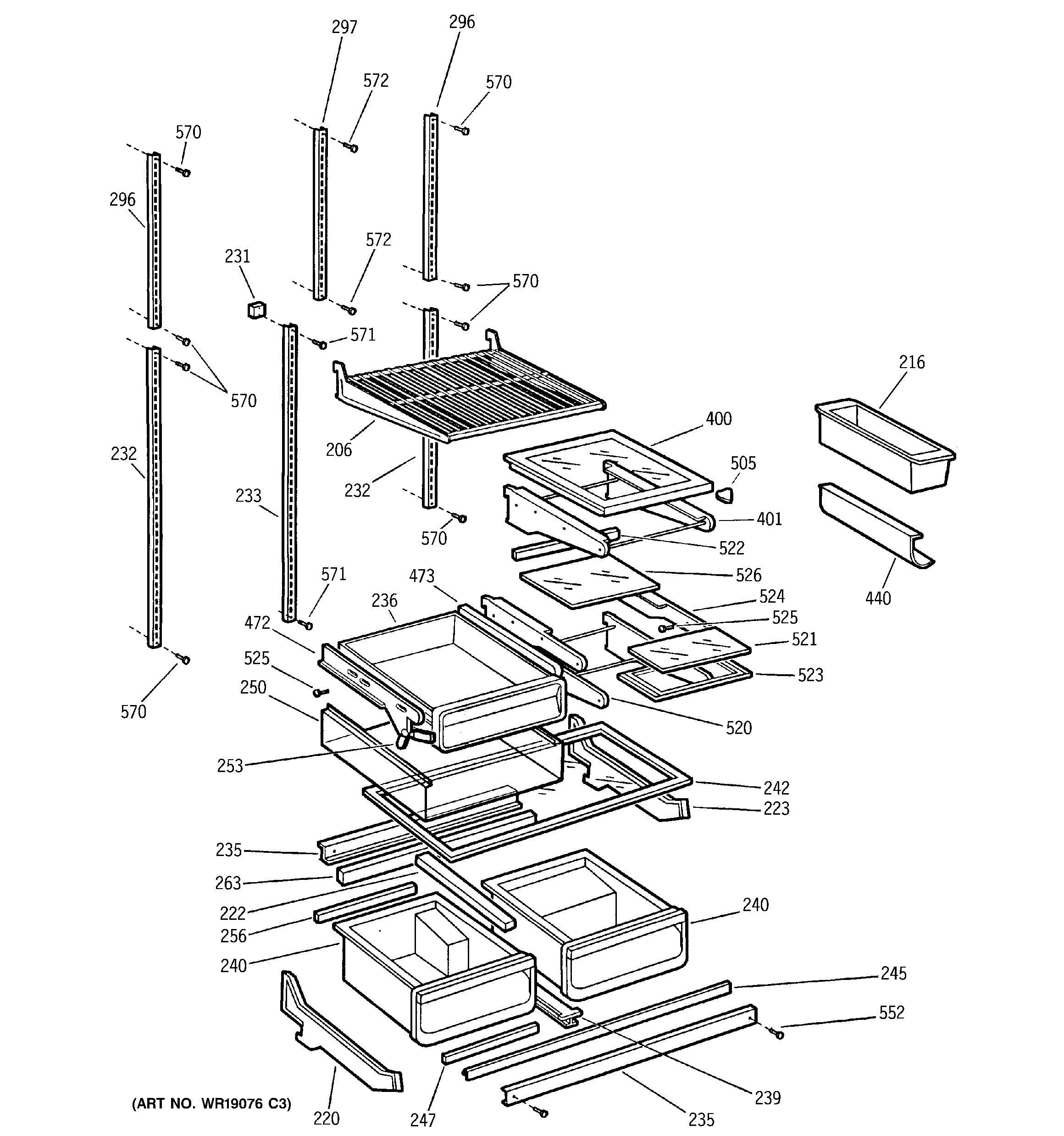
PTC22SFMALBS SHELVES