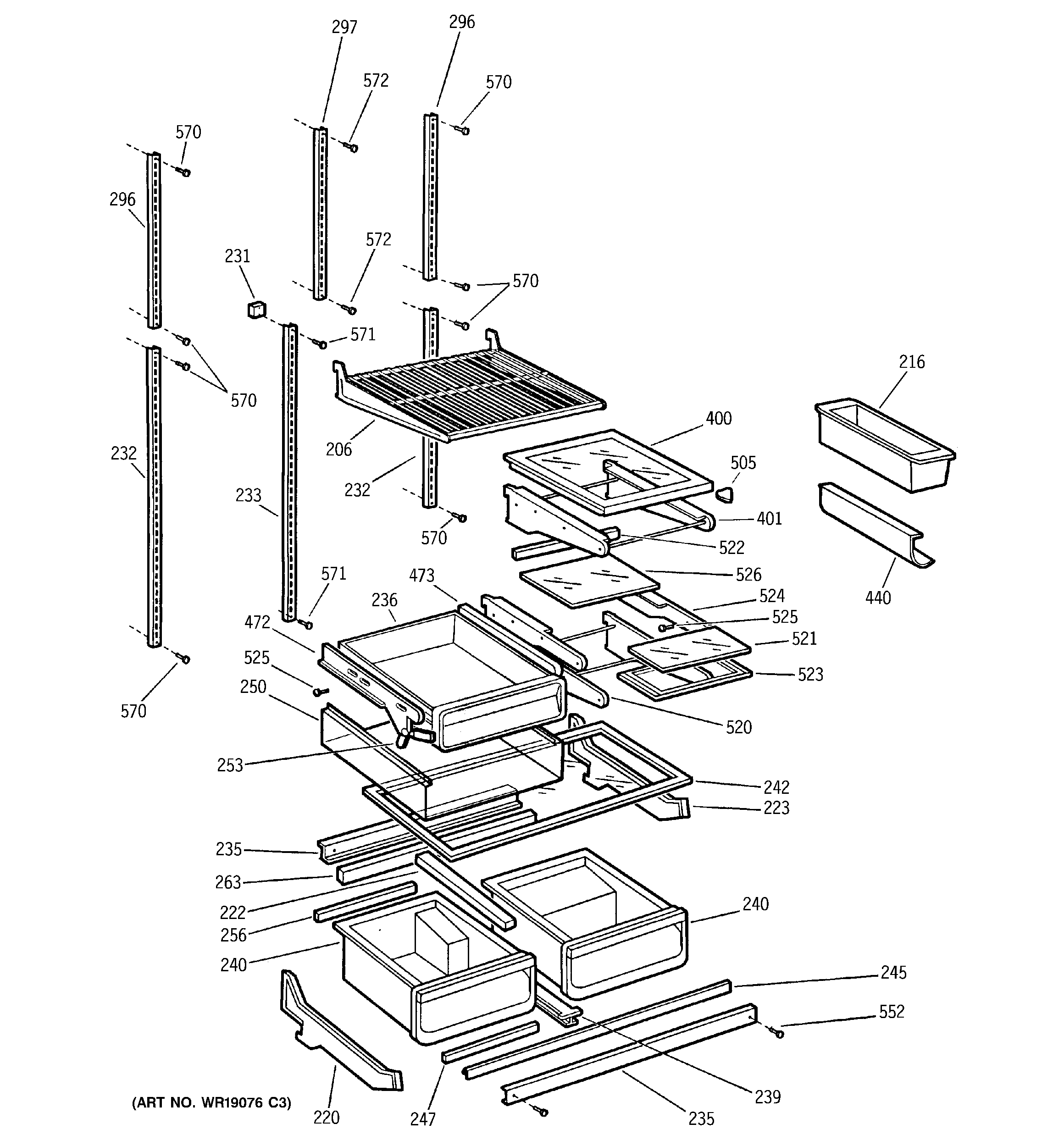
PTC22SFMARBS SHELVES