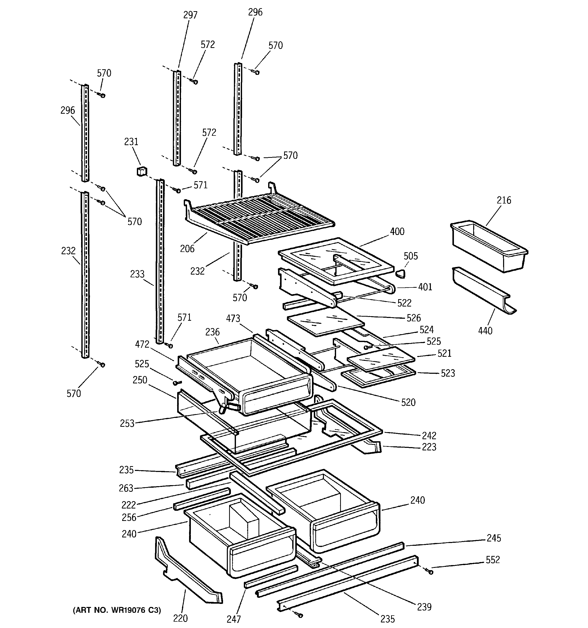
PTI22MFMALBB SHELVES