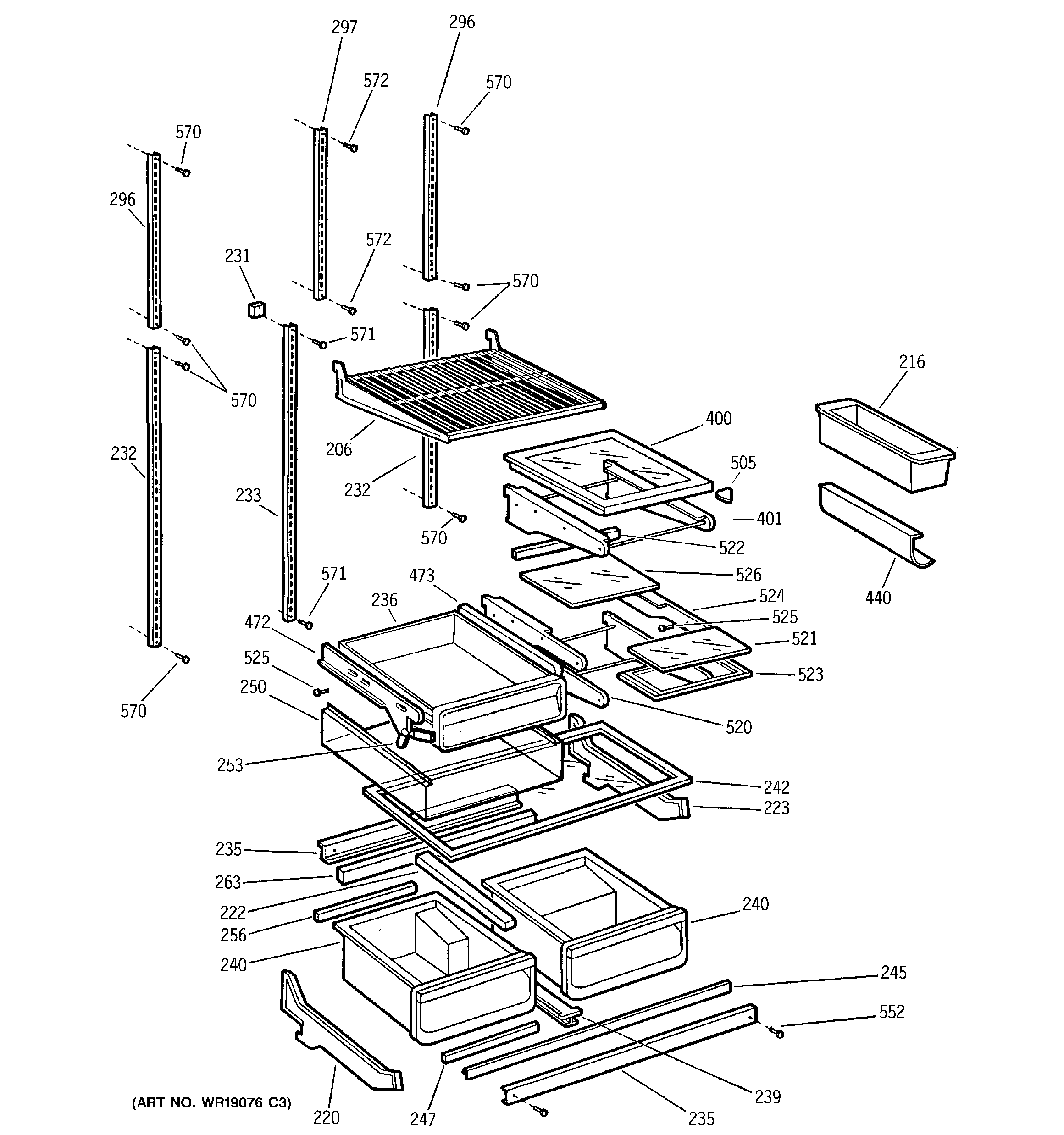
PTI22MFMARBB SHELVES