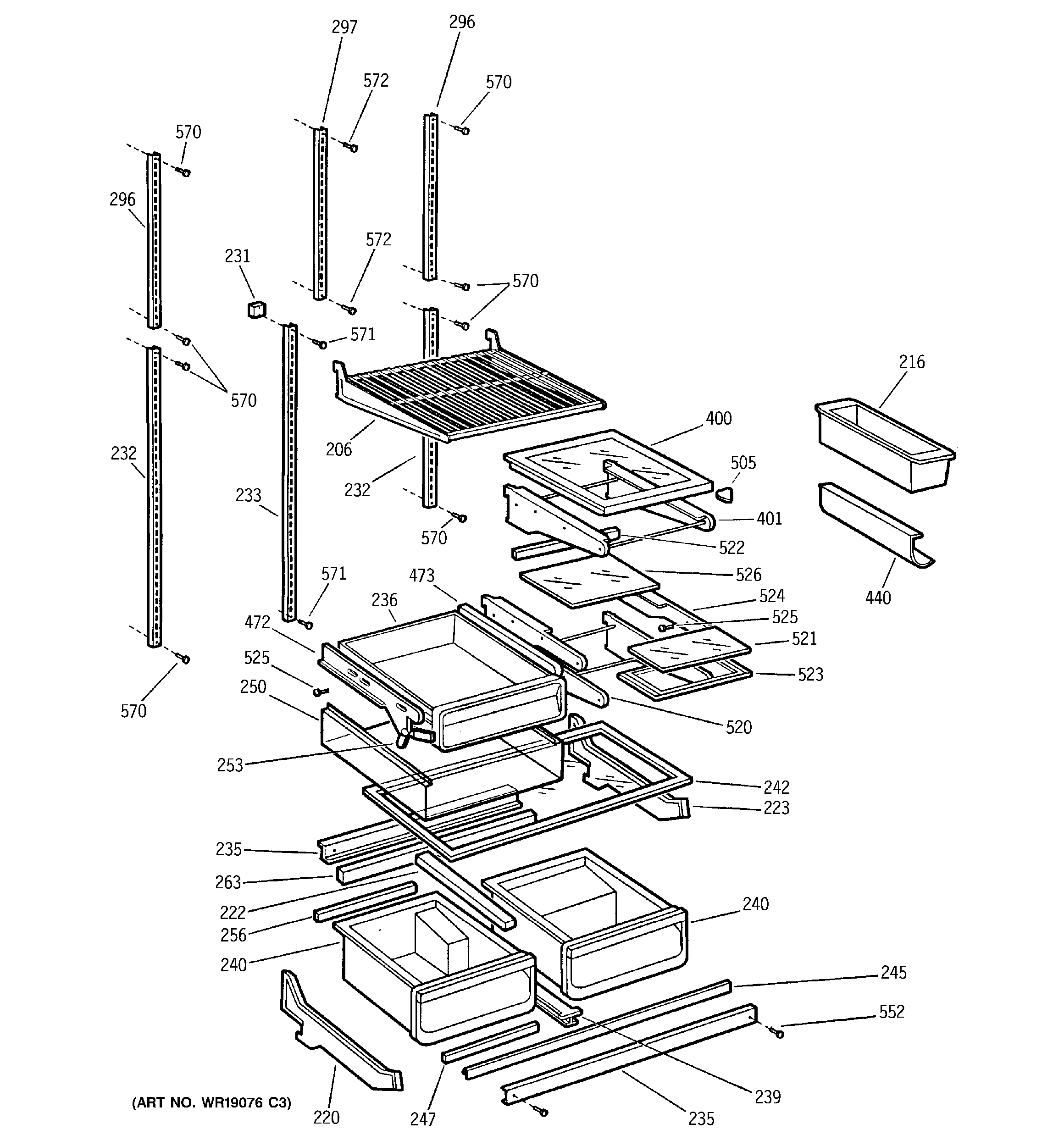
PTI22SFMALBS SHELVES