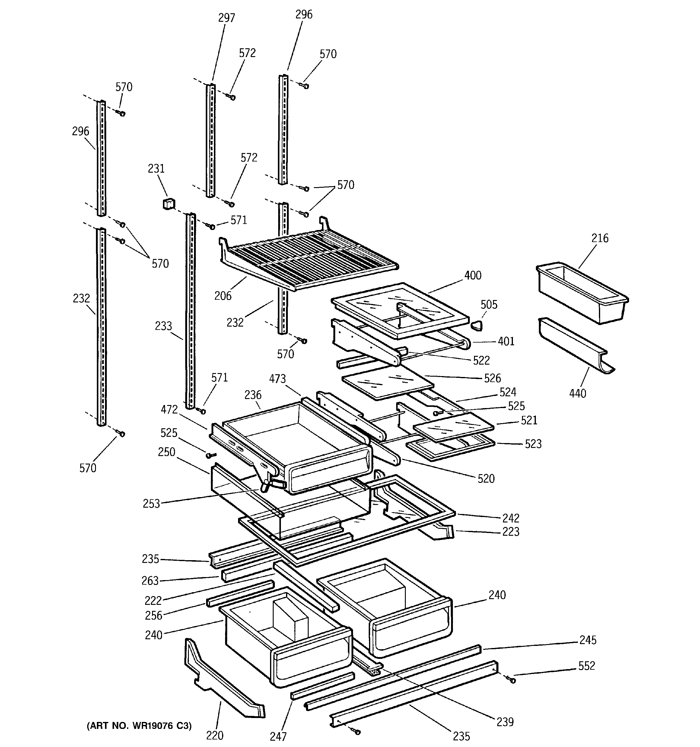
PTI22SFMARBS SHELVES