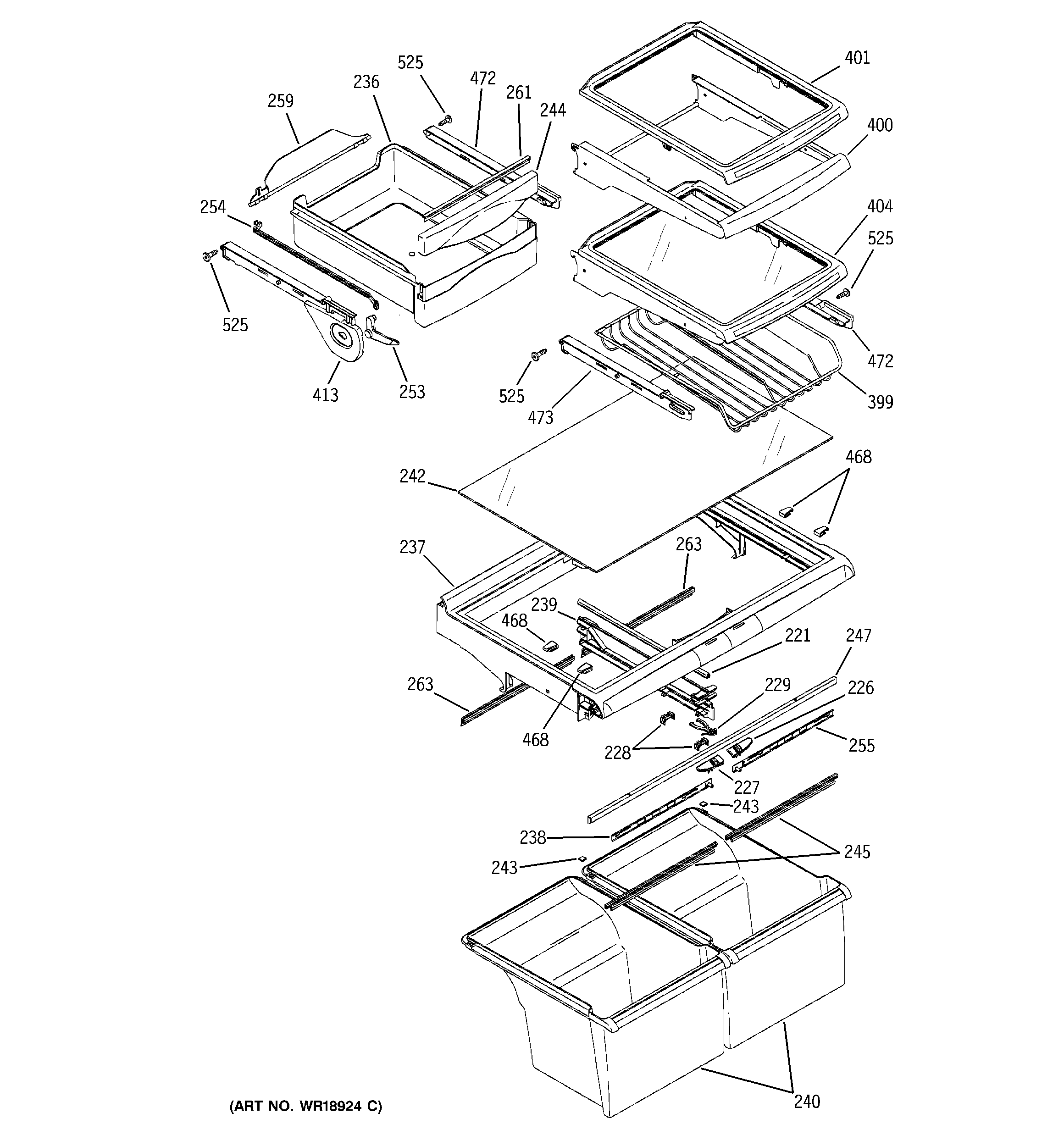
PTS22LBMARCC SHELVES