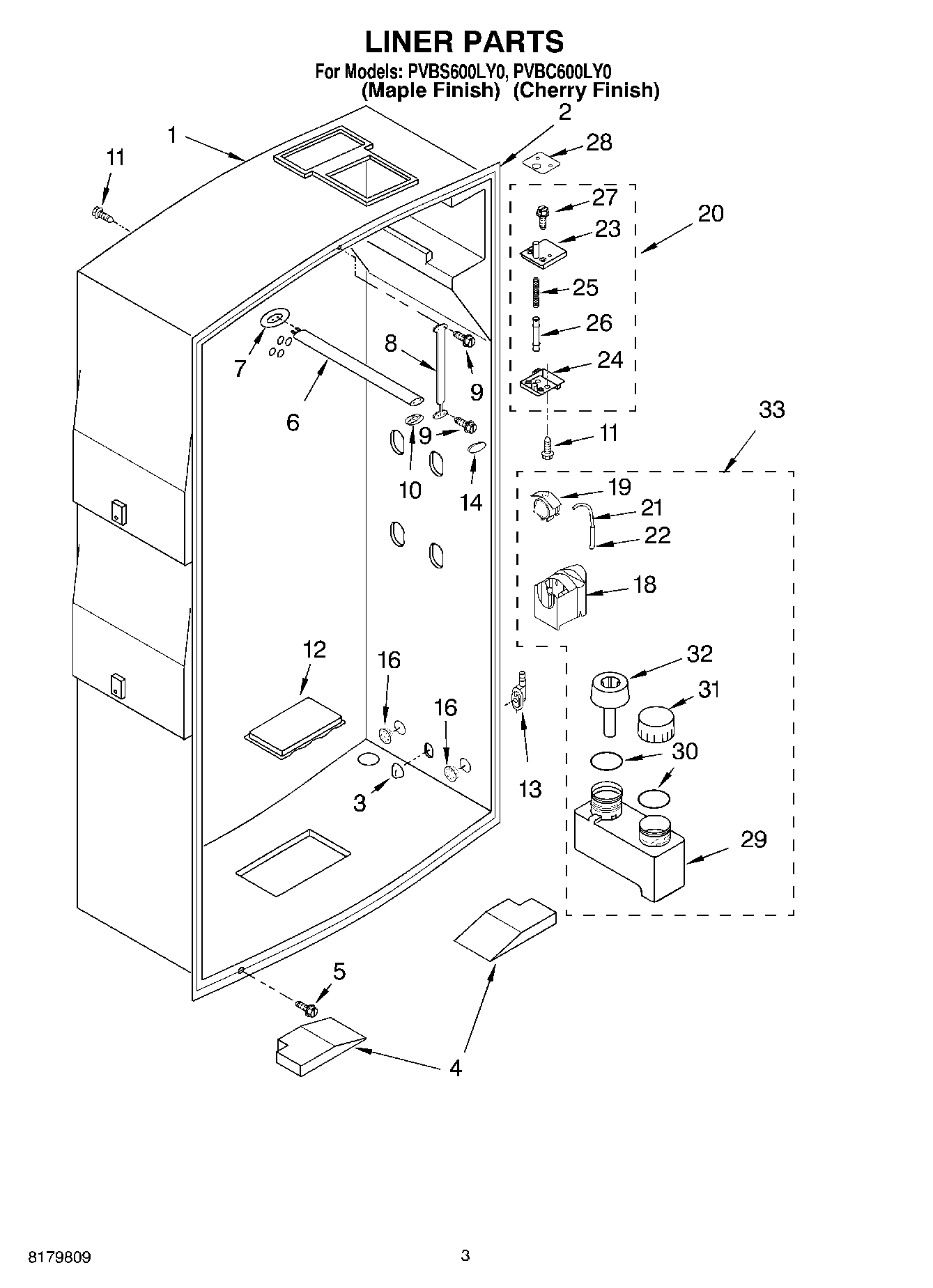
PVBC600LY0 02 – LINERadmin2025-04-26T12:47:13+00:00PVBC600LY0 02 – LINER ProductsPositionProduct1Liner2Gasket3Circulation Nozzle4Support, Bottom5SCREW6Hanger Bar7Base, Hanger Bar8Support, Hanger Bar9SCREW10End Cap, Hanger Bar11Ground Screw12Grill, Sump13Base, Circulation Nozzle14Insert, End Cap16Plug, Vent (2)18COVER19Fluid Nozzle20Airdock Assembly21Siphon Tube22Fluid Filter23Base, Airdock24AIRDOCK25Spring26Air Fitting27SCREW28Gasket29Cartridge30O-Ring31Fill Cap32Cartridge Insert33Vertical (2)33Horizontal (2)33Cartridge Assembly