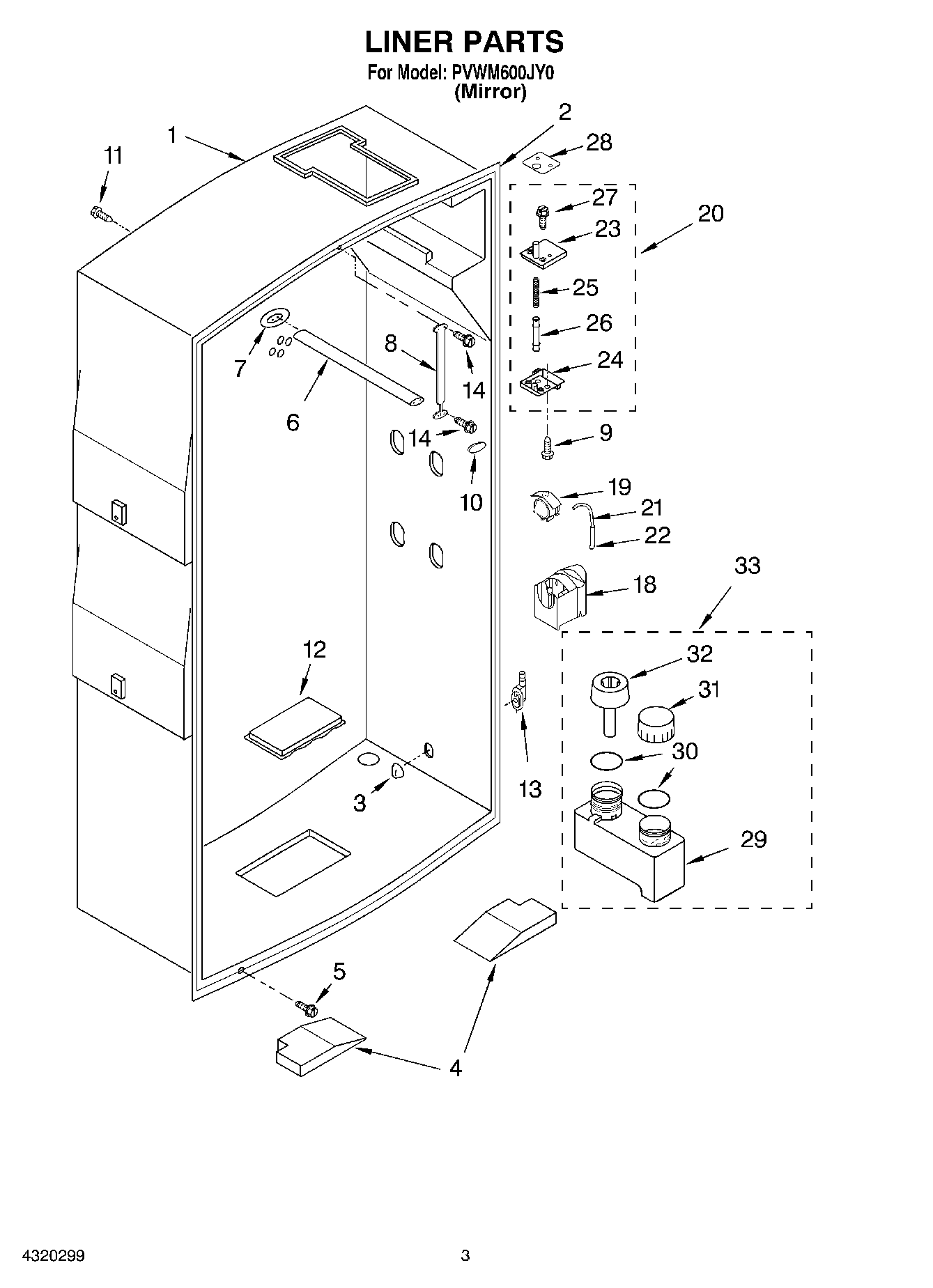
PVWM600JY0 02 – LINER