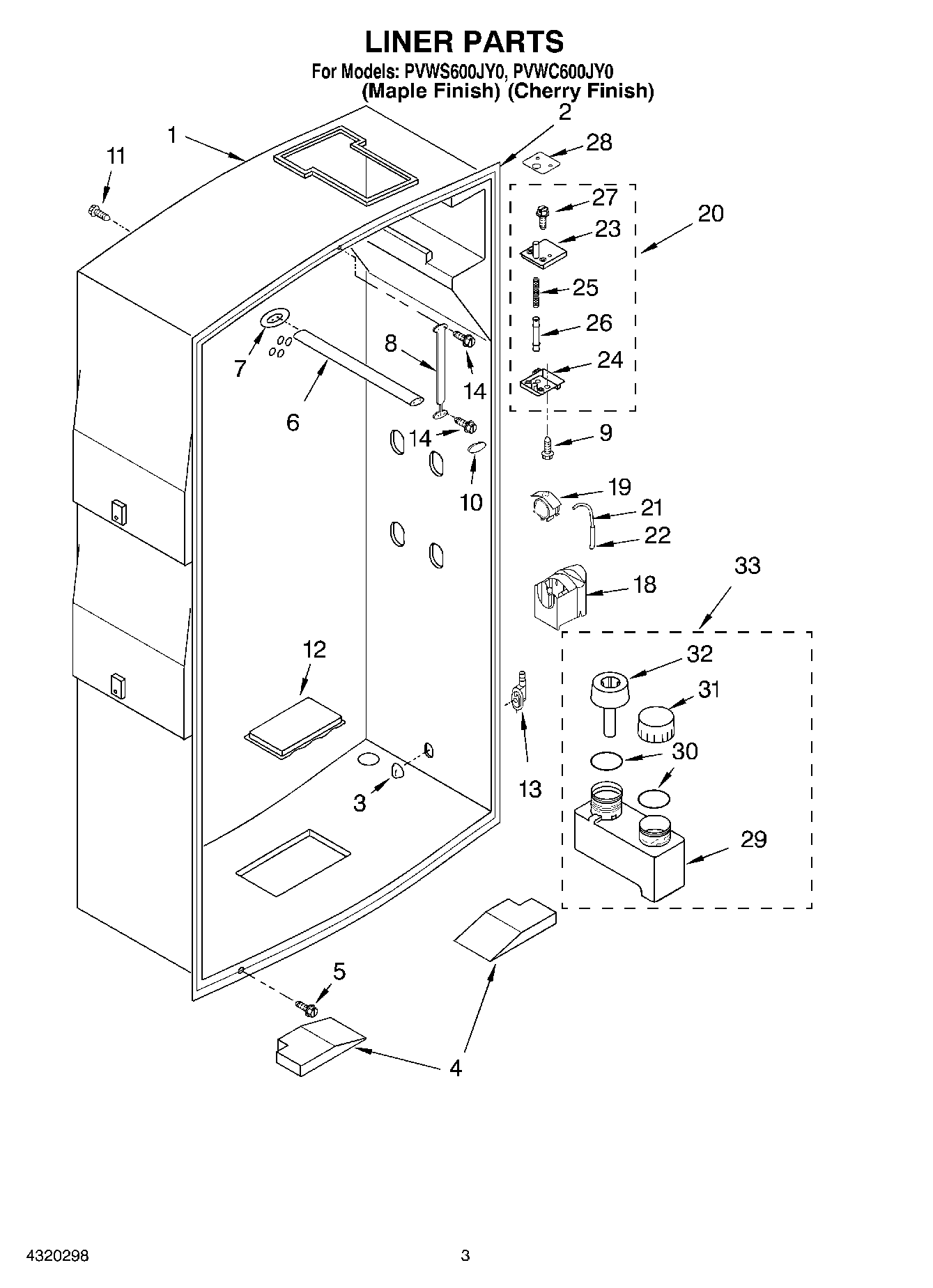
PVWS600JY0 02 – LINER