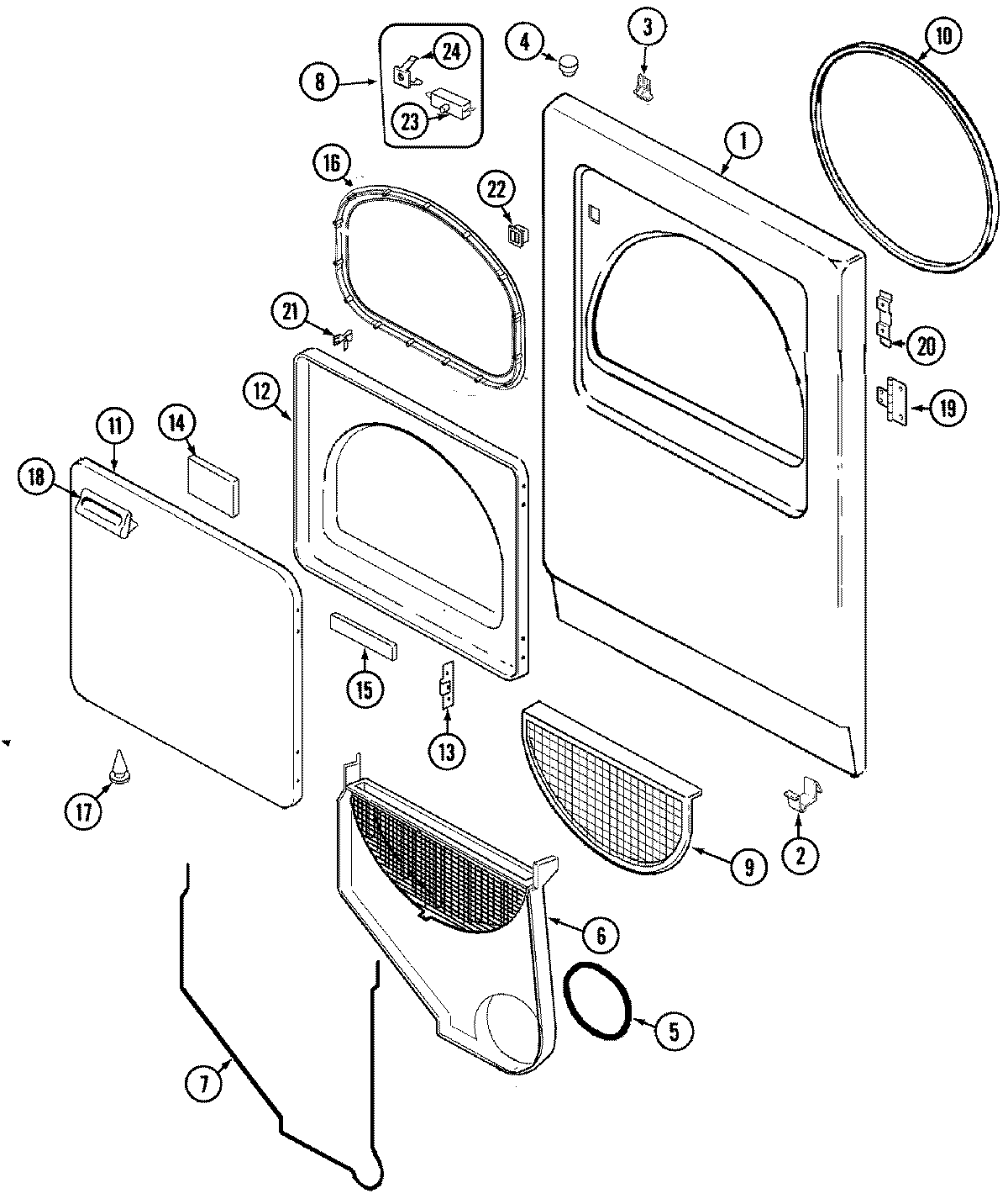
PYET244AZW 03 – DOOR