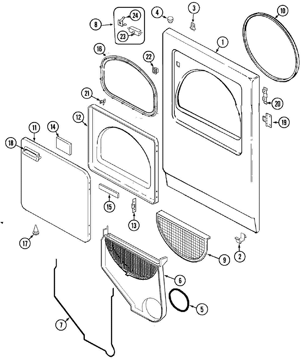
PYET344AYW 03 – DOOR