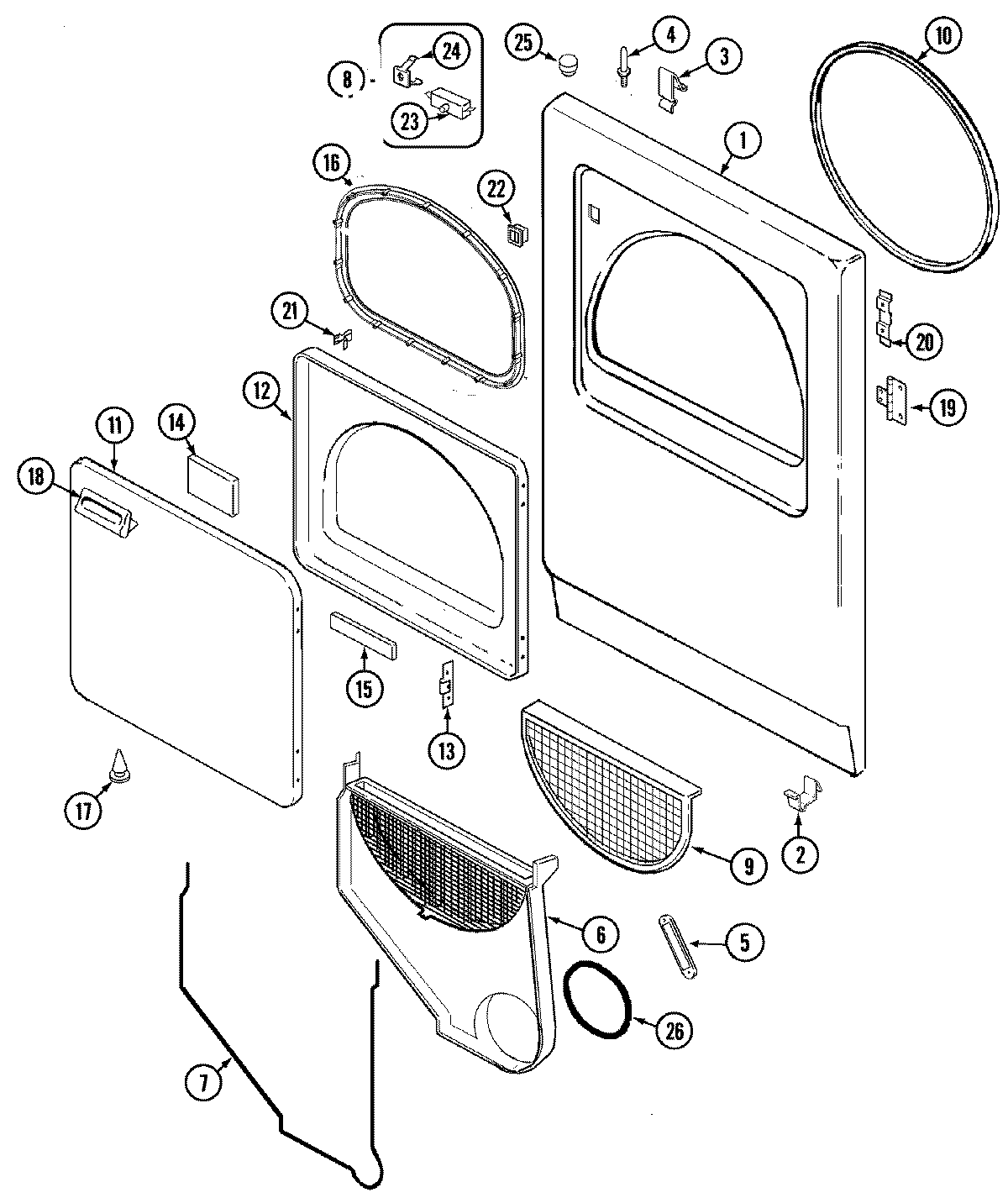
PYG4500AWW 03 – DOOR