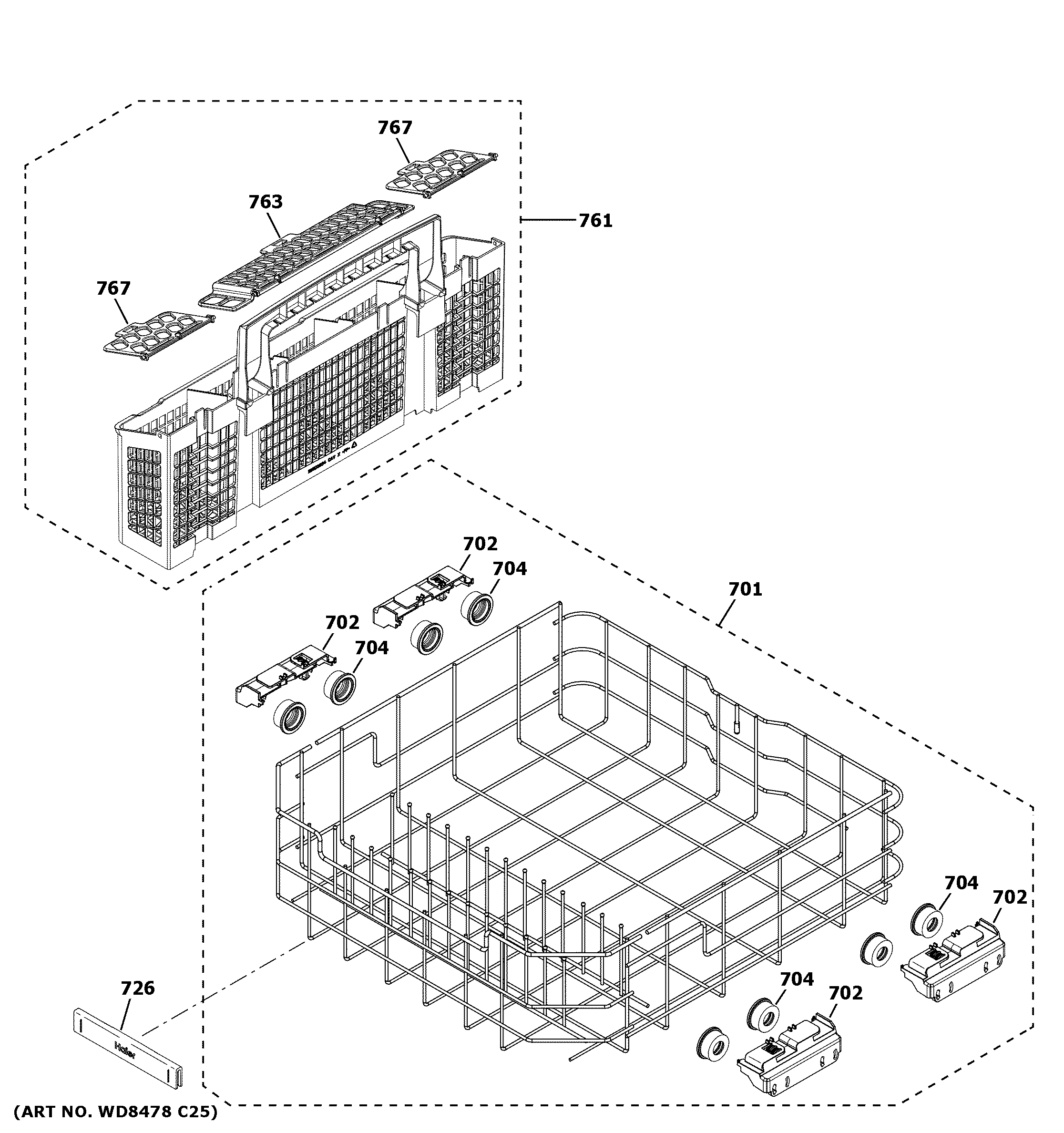
QDP555SYN3FS LOWER RACK ASSEMBLYadmin2025-04-26T10:20:32+00:00QDP555SYN3FS LOWER RACK ASSEMBLY ProductsPositionProduct701COMPLETE LOWER RACK ASM702RACK CARRIER AND ROLLER KIT704WD12X26146 GE Dishwasher Lower Rack Roller726RACK HANDLE763WD28X24469 GE Dishwasher Silverware Basket Assembly