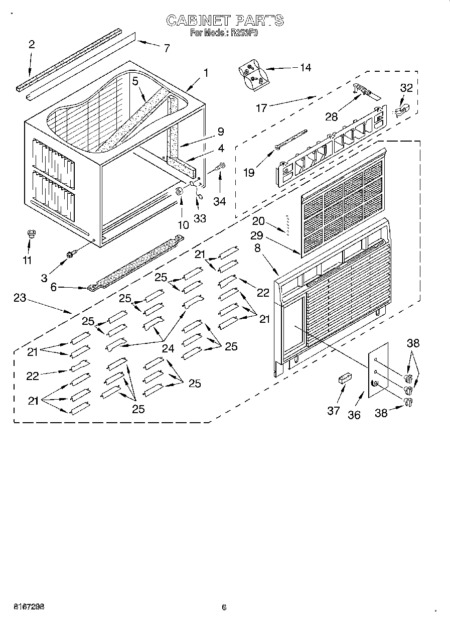
R253F0 04 – CABINET