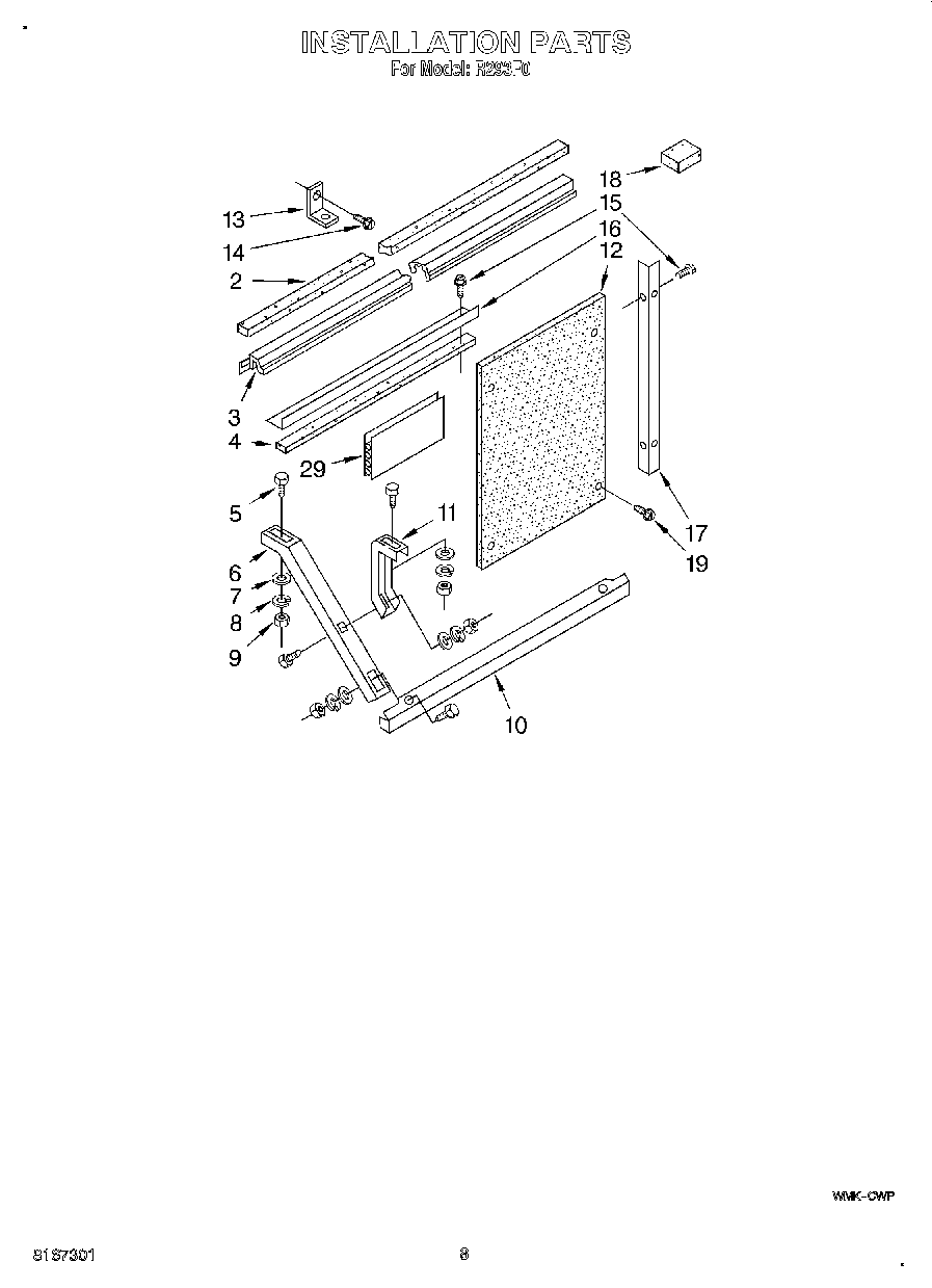
| 2 | Gasket, Meeting Rail |
| 3 | Gasket, Sash |
| 4 | Strip, Seal |
| 5 | Bolt, 1/4 x 3/4 (6) |
| 6 | Bracket, Support |
| 7 | WP120393 Whirlpool Washer Assembly |
| 8 | Lockwasher (6) |
| 9 | Nut, Hex (6) |
| 10 | Support, Cabinet (2) |
| 11 | Support, Retainer (2) |
| 12 | Board, Filler |
| 13 | Bracket |
| 14 | Screw (Window Lock Bracket) |
| 15 | Screw, 8 x 3/8 |
| 16 | Angle (Top) |
| 17 | Angle (2) |
| 18 | Spacer, Block (4) |
| 19 | Screw (Side Angle To Filler Board) |
| 29 | 212643 Whirlpool Refrigerator Permagum Sealer |