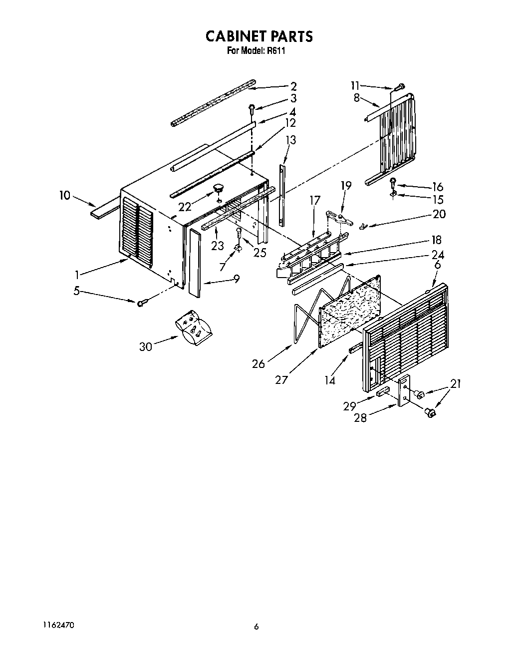
R611 04 – CABINET