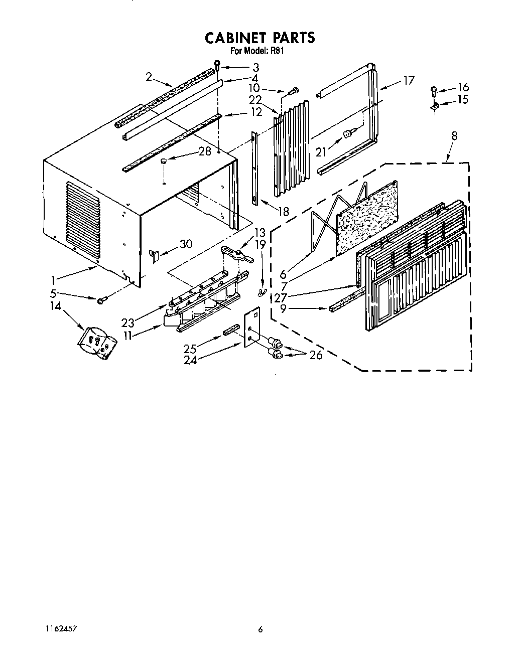
| 1 | Cabinet |
| 2 | Gasket, Meeting Rail |
| 3 | WP308685 Whirlpool Microwave Screw |
| 4 | Channel, Top Mounting |
| 5 | WP489069 Whirlpool Compactor Screw |
| 6 | Retainer, Filter |
| 7 | Filter |
| 8 | Front, Cabinet |
| 9 | Seal, Front |
| 10 | Screw, 8-18 x 3/8 |
| 11 | Louver, Vertical |
| 12 | Strip, Seal |
| 13 | Handle, Louver |
| 14 | Bag, Accessory |
| 15 | Bracket |
| 16 | Screw, Wood 8-15 x .750 |
| 17 | Housing, Curtain (R.S.) |
| 17 | Housing, Curtain L.S. |
| 18 | Retainer, Curtain |
| 19 | Detent Spring (2) |
| 21 | Thumbscrew (2) |
| 22 | Curtain (2) |
| 23 | Link, Louver |
| 24 | Plate, Escutcheon |
| 25 | Spacer, Escutcheon Plate (3) |
| 26 | Knob, Control (3) |
| 27 | Seal, Top & Sides |
| 28 | Cover, Hole |
| 29 | Front |
| 30 | Clip, Vertical Louver |