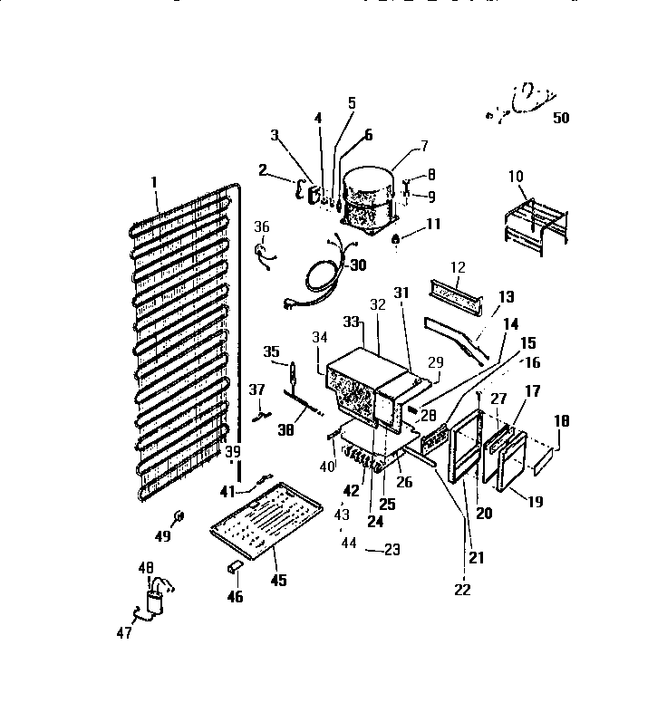
RA186GCF2 04 – COOLING SYSTEMSadmin2025-04-26T08:42:07+00:00RA186GCF2 04 – COOLING SYSTEMS ProductsPositionProduct1WCI G1627392CLAMP, COVER3COVER, TEMPERATURE4WCI G1774355WCI G1774346CLIP, OVERLOAD7COMPRESSOR W/RELAY-OVLD, (SEE NOTES 1 AND 2)8SCREW - 1/4-20 (3) COMP. MTG.9SLEEVE COMP MTG (3)10WCI G16506311218513300 Frigidaire Refrigerator Compressor Mount Grommet12WCI G17063813WCI G16992514WCI G17100315WCI R16996416HINGE PIN - UPR17WCI G17169418WCI G17805519BWCI G16996519ADOOR-FRZR INNER19WCI G169874-0620HINGE PIN - LWR21WCI G169891-0522WCI G170553-0422WCI G170553-0224WCI G16983325WCI G16983226WCI G16958927WCI G16997528WCI G16995429HOUSING-INR LINER30CORD, SERVICE31WCI G16983132WCI R90094133WCI G17108234WCI G17108335DRIER-REGULAR35WCI R900126365303917954 Frigidaire Refrigerator Defrost Limit Thermostat Kit37WCI G16463338WCI G17098339HEAT EXCHANGER REPAIR KIT40WCI G170779415303006412 Frigidaire Refrigerator Cover Mounting Strap42WCI G169955435308000110 Frigidaire Refrigerator Evaporator/Heater Primary Strap44WCI G16996944AWCI G17048745DEFROST PLATE46WCI G17046447STRAP-CAPACITOR48WCI G188885149SPACER, MOLDED50WCI R900976